GM Service Manual Online
For 1990-2009 cars only
Makes
🢒
Cadillac
🢒
2002
🢒
Escalade EXT
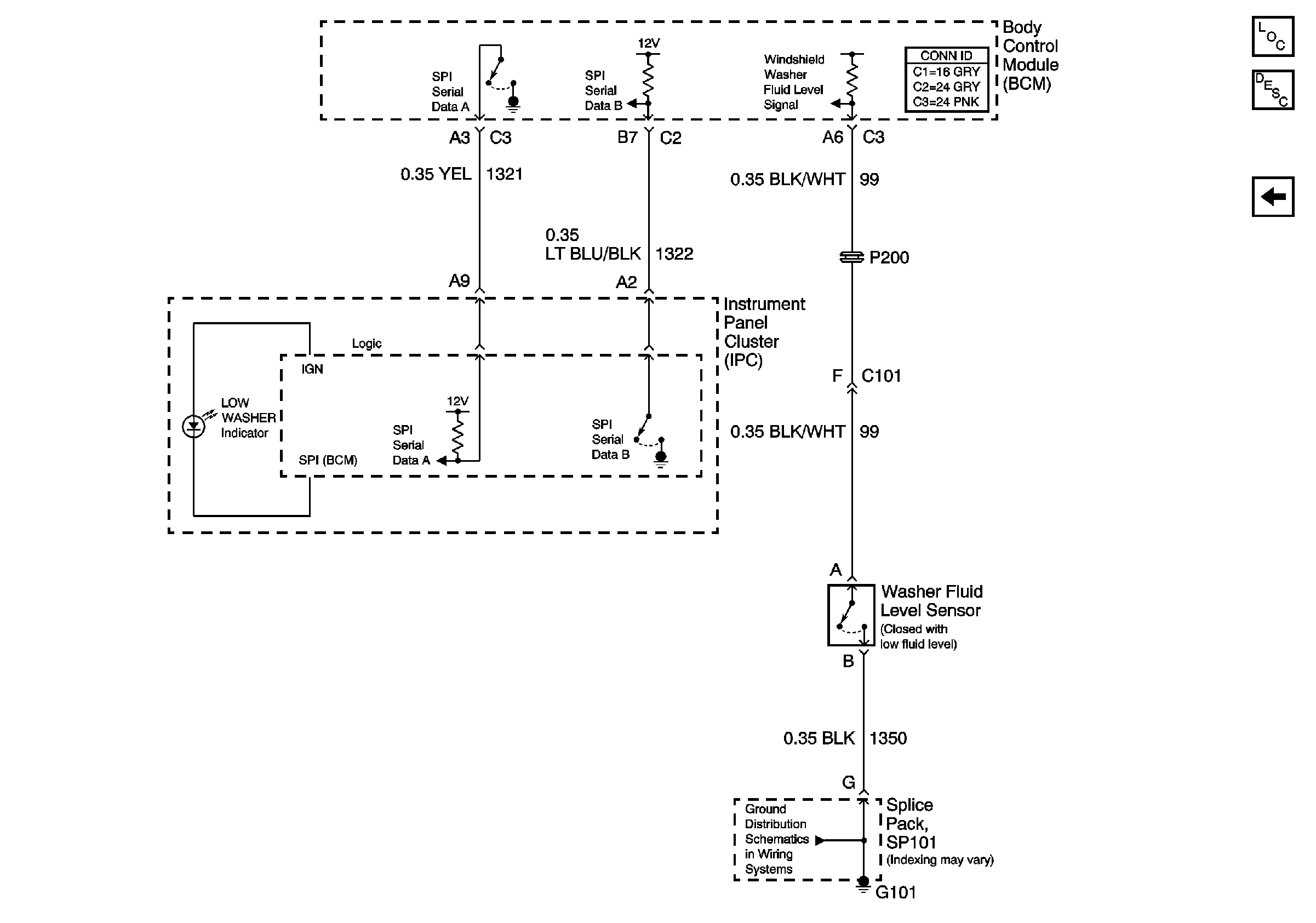
🢒 Washer Level Sensor
Washer Level Sensor
Washer Level Sensor
Master Electrical Component List
Wiper/Washer System Description and Operation
Wiper Washer
SP101