GM Service Manual Online
For 1990-2009 cars only
Makes
🢒
Cadillac
🢒
2002
🢒
Escalade EXT
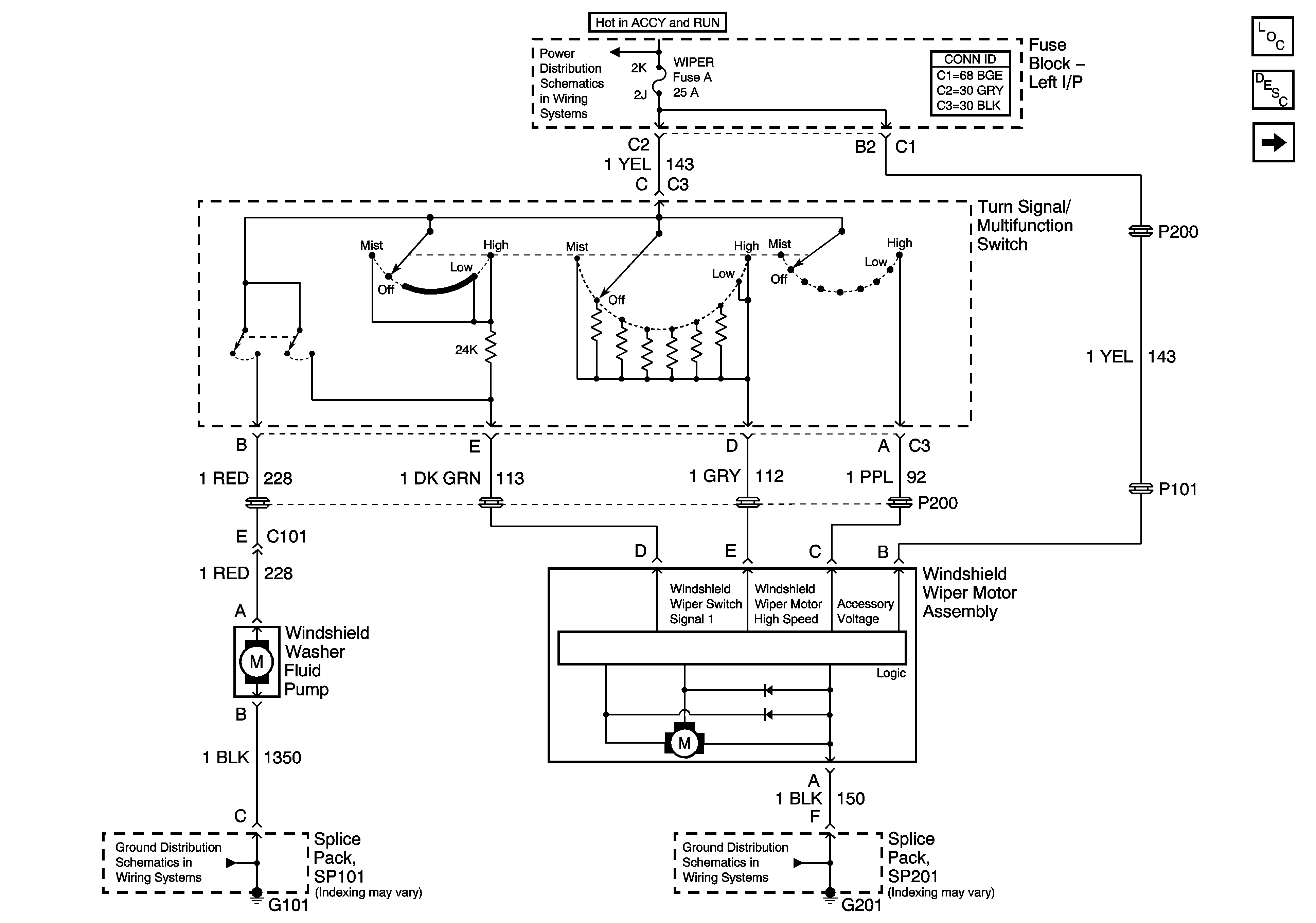
🢒 Wiper Washer
Wiper Washer
Wiper Washer
Master Electrical Component List
Wiper/Washer System Description and Operation
Washer Level Sensor
IGN BATT 1, IGN SW BATT 2, Ignition Switch
SP101
SP201