GM Service Manual Online
For 1990-2009 cars only
Makes
🢒
Cadillac
🢒
2002
🢒
Escalade EXT
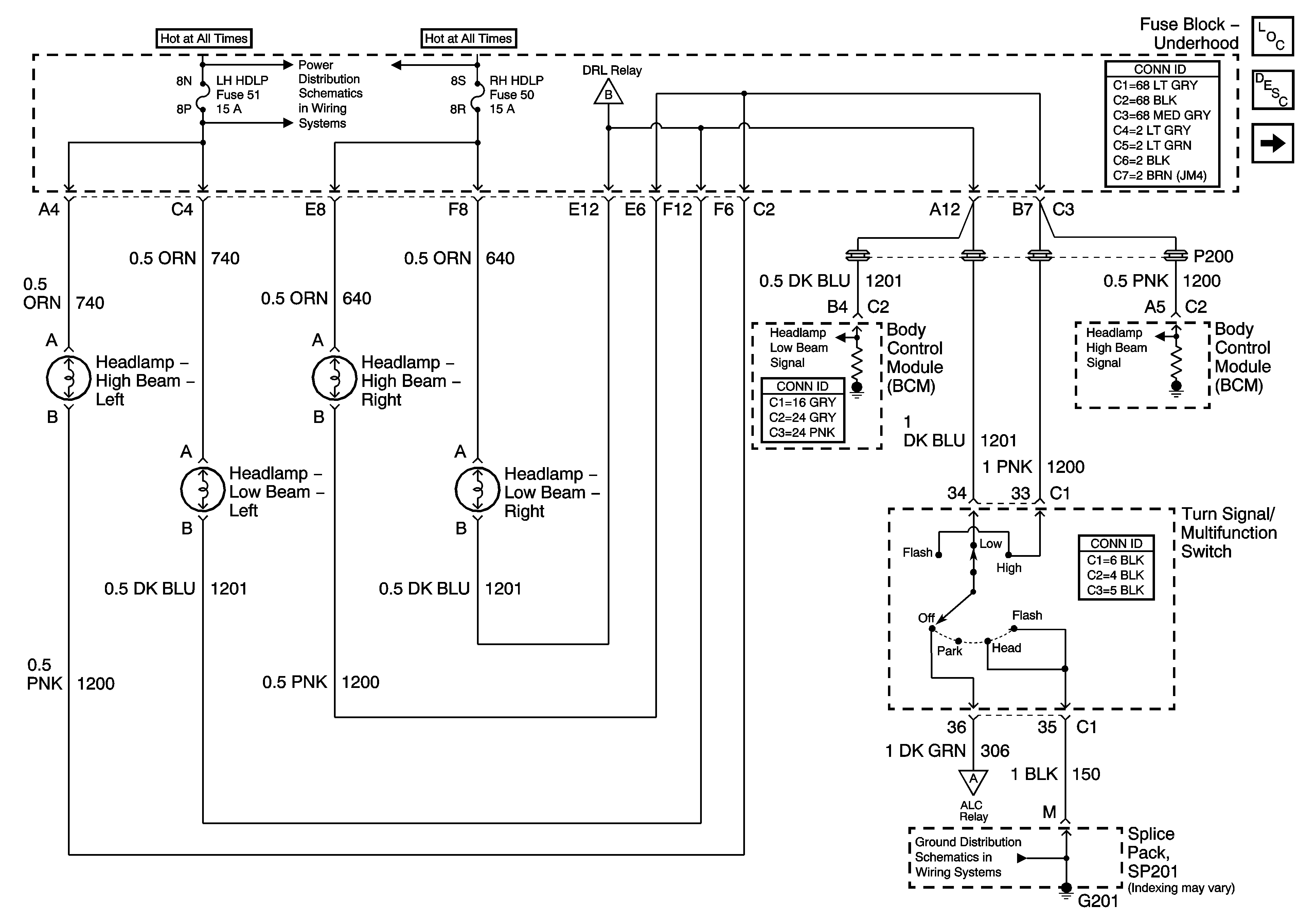
🢒 Headlights
Headlights
Headlights
Master Electrical Component List
Exterior Lighting Systems Description and Operation
DRL (ALC Relay)
SP201
DRL (ALC Relay)
DRL (ALC Relay)
RH HDLP, LH HDLP, and GEN BATT Fuses