GM Service Manual Online
For 1990-2009 cars only
Makes
🢒
Cadillac
🢒
2002
🢒
Escalade EXT
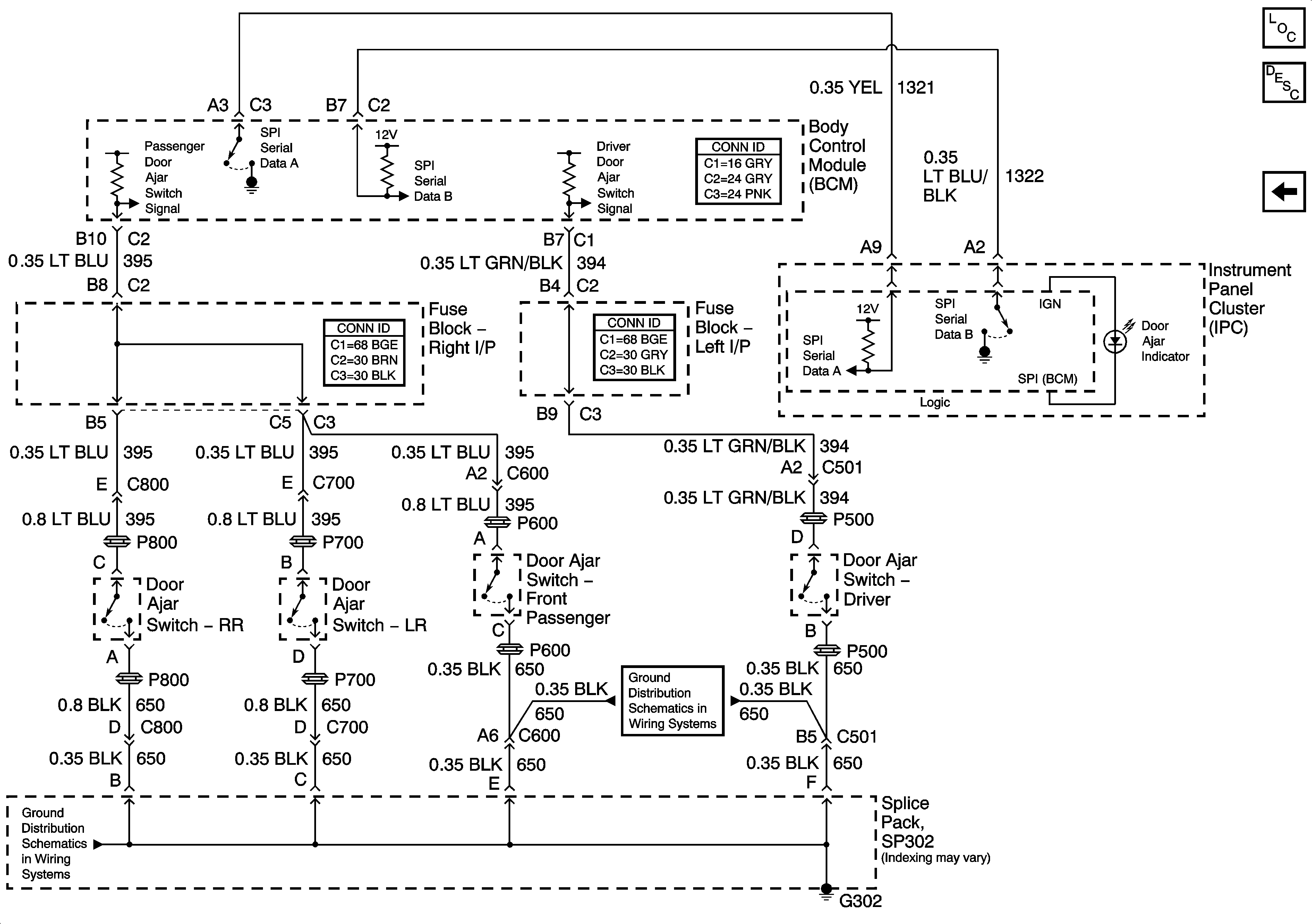
🢒 Door Ajar Lamps
Door Ajar Lamps
Door Ajar Lamps
Master Electrical Component List
Interior Lighting Systems Description and Operation
Instrument Panel and Rear Compartment Lamps
SP302