GM Service Manual Online
For 1990-2009 cars only
Makes
🢒
Cadillac
🢒
2002
🢒
Escalade EXT
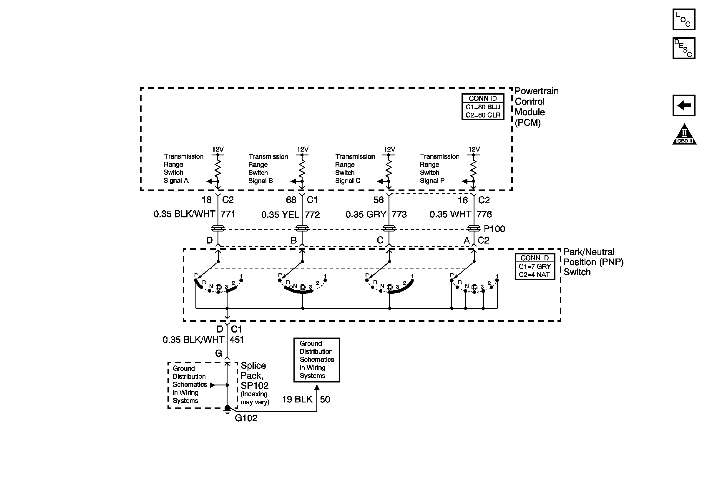
🢒 Park Neutral Position (PNP) Switch
Park Neutral Position (PNP) Switch
Park Neutral Position (PNP) Switch
Master Electrical Component List
Automatic Transmission Electrical Connector Description
Transmission Switches
OBDII Symbol Description Notice
SP102
SP102