GM Service Manual Online
For 1990-2009 cars only
Makes
🢒
Cadillac
🢒
2002
🢒
Escalade EXT
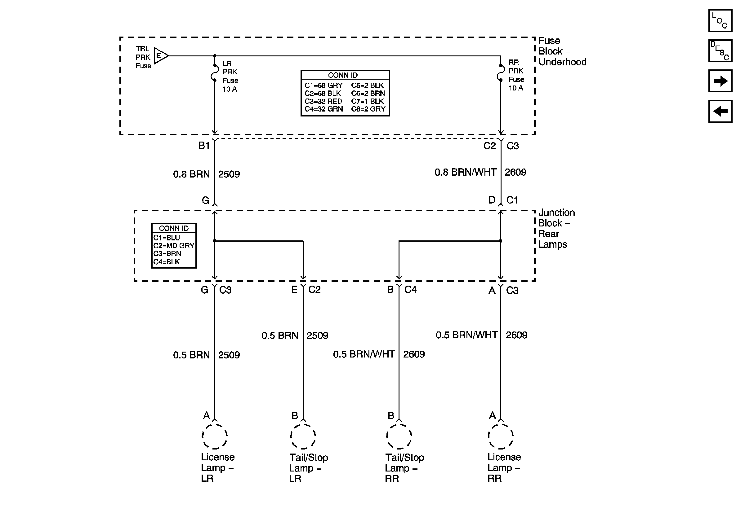
🢒 LR PRK and RR PRK Fuses - Tahoe, Yukon, Suburban, and Yukon XL
LR PRK and RR PRK Fuses - Tahoe, Yukon, Suburban, and Yukon XL
LR PRK and RR PRK Fuses - Tahoe, Yukon, Suburban, and Yukon XL
Master Electrical Component List
LR PRK and RR PRK Fuses - Avalanche and 4WD Escalade
VEH STOP Fuse - 2 of 2 and VEH B/U Fuse - 2 of 2
FR PRK, TRL PRK, HORN Fuses, FOG LAMP and HORN Relays