GM Service Manual Online
For 1990-2009 cars only
Makes
🢒
Cadillac
🢒
2002
🢒
Escalade EXT
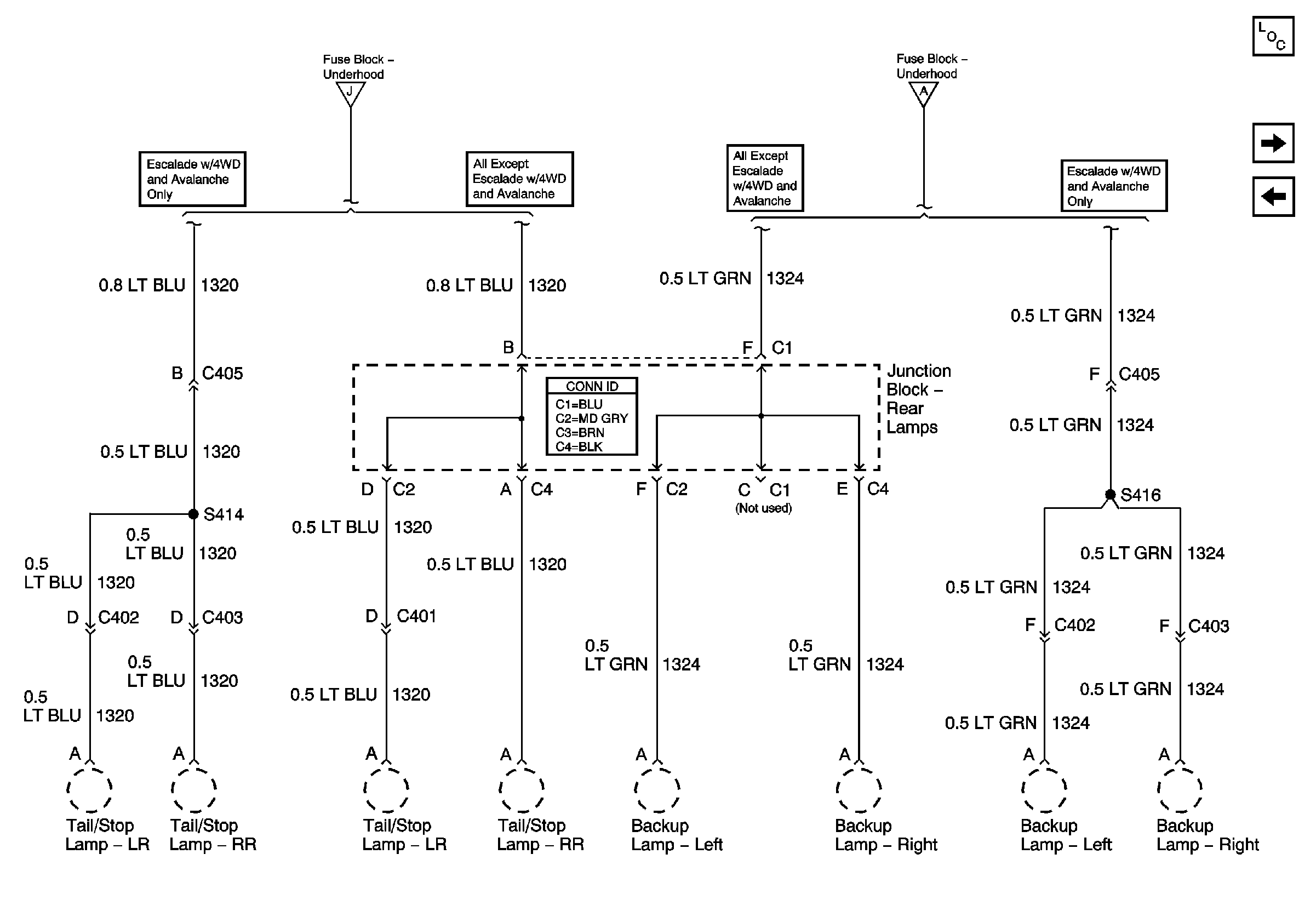
🢒 VEH STOP Fuse - 2 of 2 and VEH B/U Fuse - 2 of 2
VEH STOP Fuse - 2 of 2 and VEH B/U Fuse - 2 of 2
VEH STOP Fuse - 2 of 2 and VEH B/U Fuse - 2 of 2
Master Electrical Component List
LR PRK and RR PRK Fuses - Tahoe, Yukon, Suburban, and Yukon XL
TRL L TRN, TRL R TURN, VEH STOP - 1 of 2, and CHMSL Fuses
B/U LP, BTSI, VEH B/U - 1 of 2, and TRL B/U Fuses
TRL L TRN, TRL R TURN, VEH STOP - 1 of 2, and CHMSL Fuses