GM Service Manual Online
For 1990-2009 cars only
Makes
🢒
Cadillac
🢒
2002
🢒
Escalade EXT
🢒 Subsystem References
Subsystem References
Subsystem References
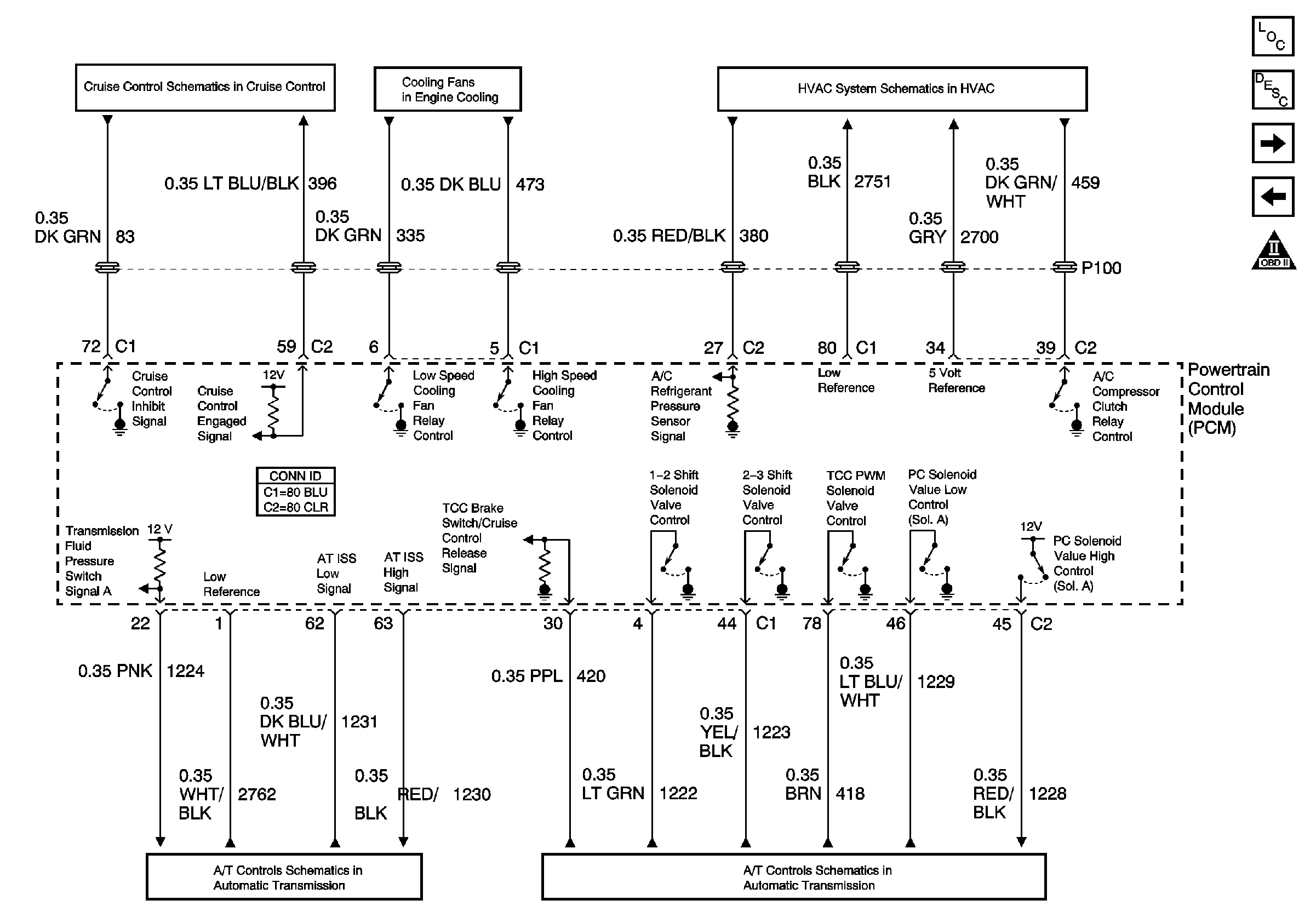
Master Electrical Component List
Powertrain Control Module Description
Transmission References
EVAP and Fuel Controls
OBDII Symbol Description Notice
A/C Compressor Controls
Cooling Fans
Brake Switch and Inhibit Signals
Transmission Switches
Shift Solenoids