GM Service Manual Online
For 1990-2009 cars only
Makes
🢒
Cadillac
🢒
2003
🢒
Escalade EXT
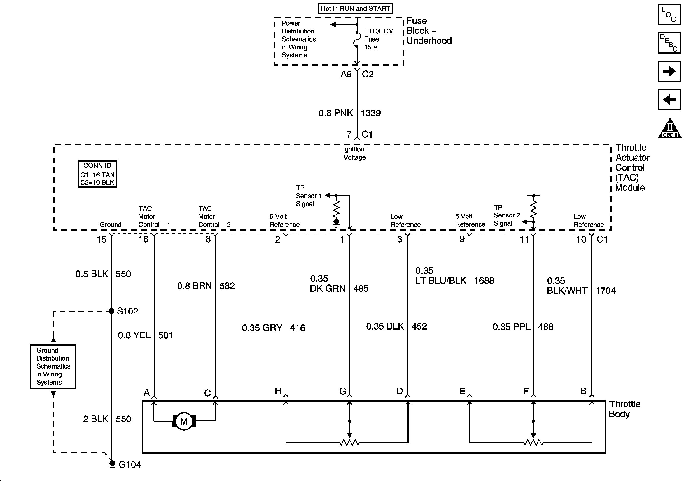
🢒 Engine Data Sensors - Electronic Throttle Controls - 1 of 2
Engine Data Sensors - Electronic Throttle Controls - 1 of 2
Engine Data Sensors - (Electronic Throttle Controls - 1 of 2)
Master Electrical Component List
Powertrain Control Module Description
Engine Data Sensors - Electronic Throttle Controls - 2 of 2
Engine Data Sensors - HO2S
Engine Controls Schematic Icons
IGN 1 Relay Bus, SEO B2, RR DEFOG, SEO IGN, B/U LP
G104, G107