GM Service Manual Online
For 1990-2009 cars only
Makes
🢒
Cadillac
🢒
2003
🢒
Escalade EXT
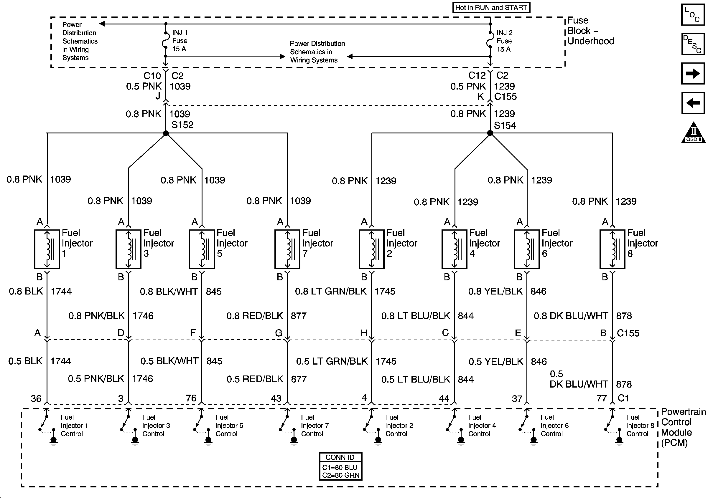
🢒 Fuel Controls - Fuel Injectors
Fuel Controls - Fuel Injectors
Fuel Controls - Fuel Injectors
Master Electrical Component List
Powertrain Control Module Description
Fuel Controls - EVAP Controls, Fuel Tank Pressure, and EGR
Fuel Controls - Fuel Pump Controls
Engine Controls Schematic Icons
IGN 1 Relay Bus, SEO B2, RR DEFOG, SEO IGN, B/U LP
INJ 1, INJ 2