GM Service Manual Online
For 1990-2009 cars only
Makes
🢒
Cadillac
🢒
2003
🢒
Escalade EXT
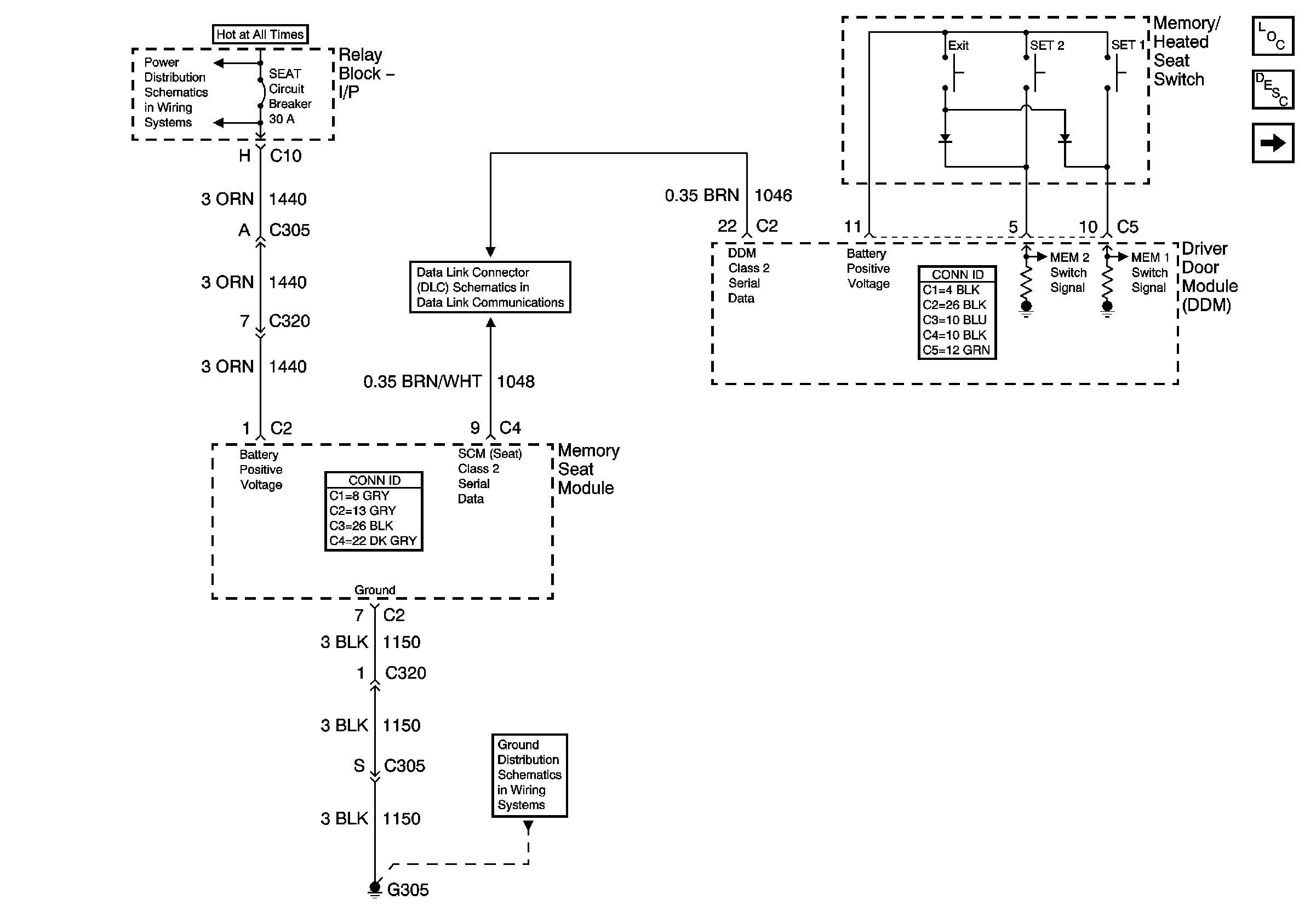
🢒 Power, Ground, Class 2, and Memory Set Controls
Power, Ground, Class 2, and Memory Set Controls
Power, Ground, Class 2, and Memory Set Controls
Master Electrical Component List
Memory Seats Description and Operation
Seat Adjuster Switch
TBC 2A, TBC 2B, TBC 2C, LT DOORS, RT DOORS, SEATS
SP206
G304, G305