GM Service Manual Online
For 1990-2009 cars only
Makes
🢒
Cadillac
🢒
2003
🢒
Escalade EXT
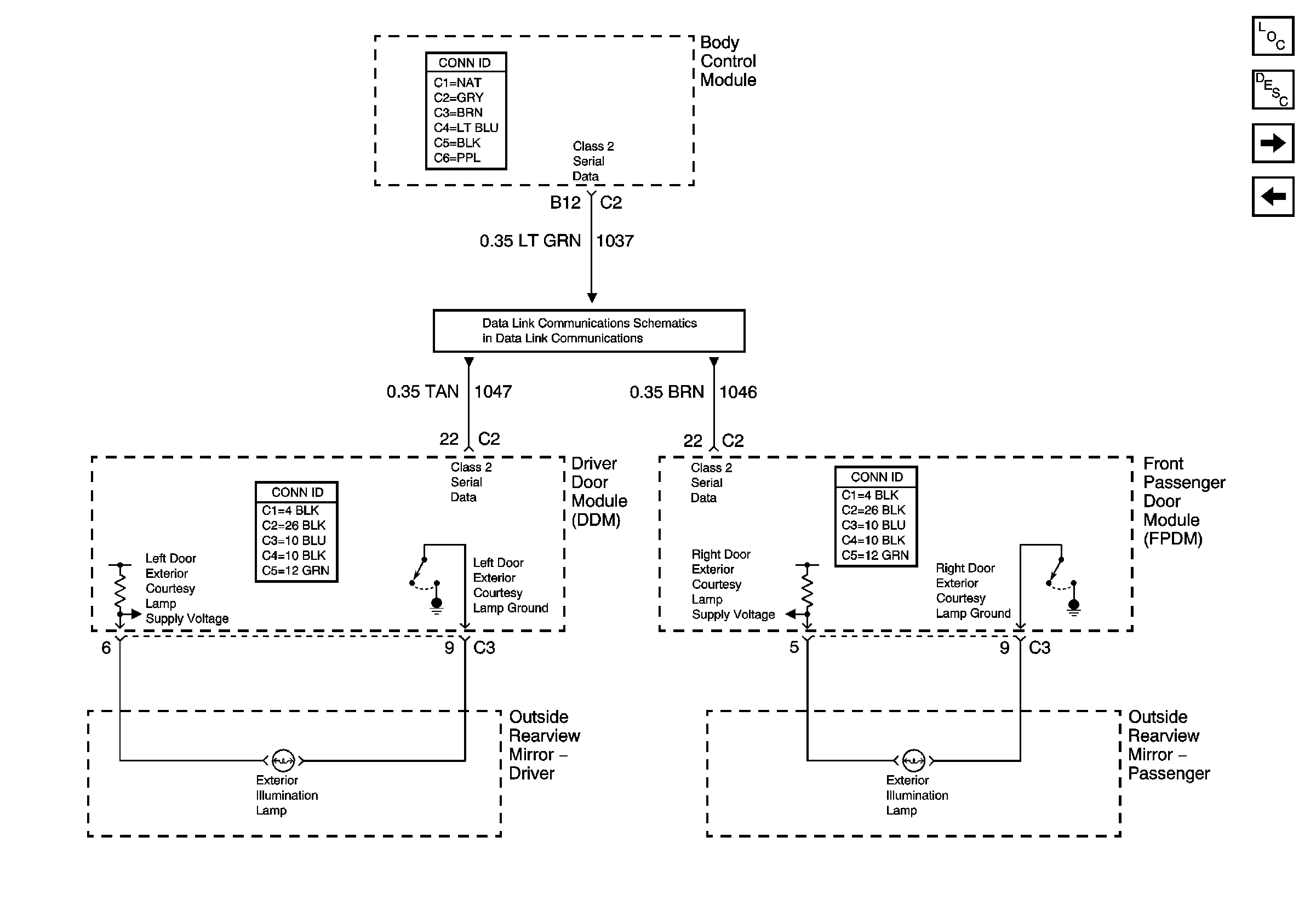
🢒 Exterior Illumination Lamps
Exterior Illumination Lamps
Exterior Illumination Lamps
Master Electrical Component List
Exterior Lighting Systems Description and Operation
Trailer Wiring
Right Turn Signals - Export
SP205 - 1 of 2