GM Service Manual Online
For 1990-2009 cars only
Makes
🢒
Cadillac
🢒
2004
🢒
Escalade EXT
🢒 Transmission Controls - A/T
Transmission Controls - A/T
Transmission Controls - A/T
Master Electrical Component List
Powertrain Control Module Description
Controlled/Monitored Subsystem References
OBD II Symbol Description Notice
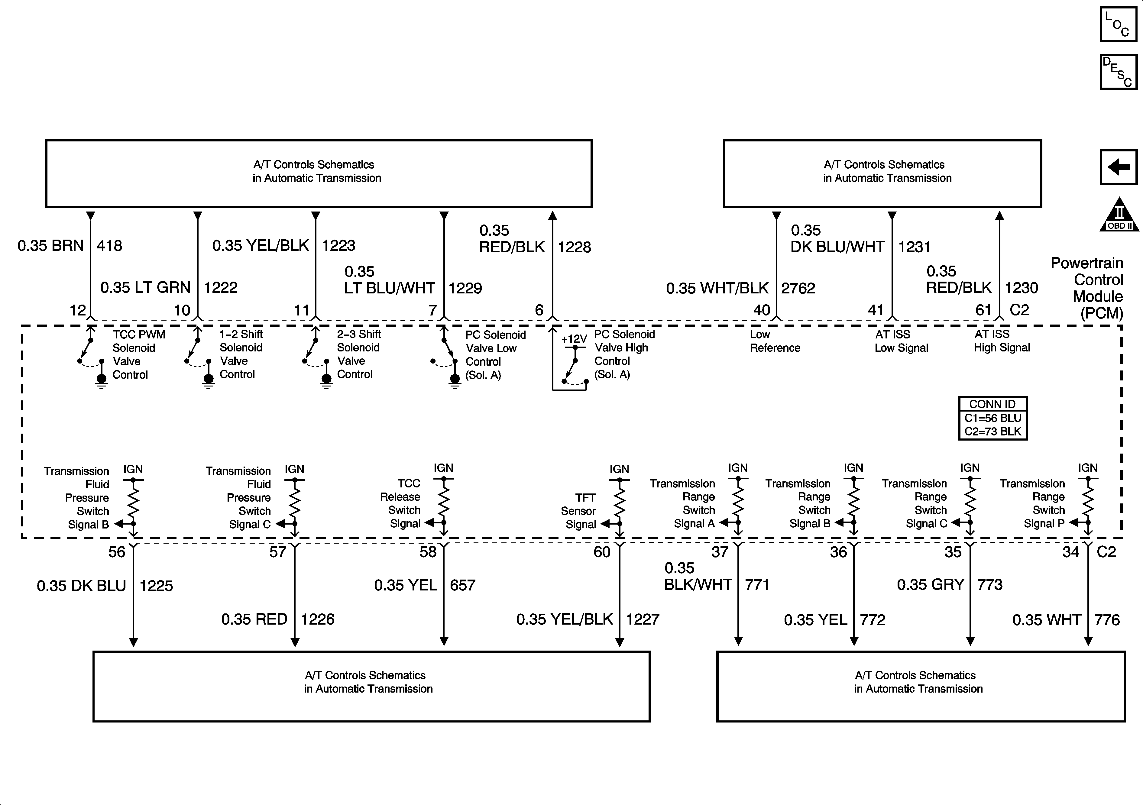
Transmission Solenoids, VSS and TCC Brake Switch Signal
Transmission Switches, TFT, and A/T ISS Sensor
Transmission Switches, TFT, and A/T ISS Sensor
PNP Switch