GM Service Manual Online
For 1990-2009 cars only
Makes
🢒
Cadillac
🢒
2004
🢒
Escalade EXT
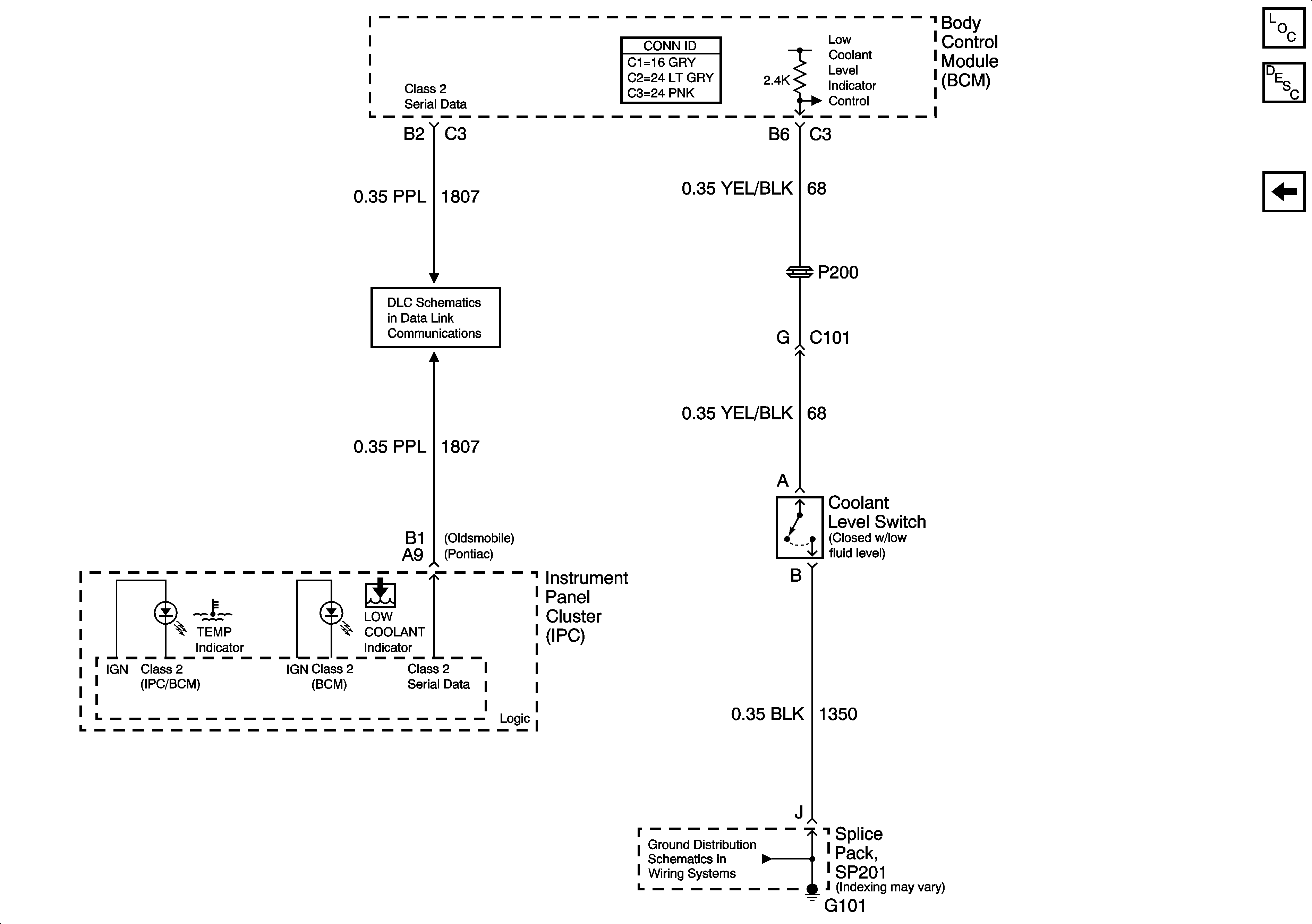
🢒 Coolant Indicators
Coolant Indicators
Coolant Indicators
Master Electrical Component List
Cooling System Description and Operation
Cooling Fans
Data Link Connector (DLC) Schematics
G101