GM Service Manual Online
For 1990-2009 cars only
Makes
🢒
Cadillac
🢒
2004
🢒
Escalade EXT
🢒 Temperature Controls
Temperature Controls
Temperature Controls
Master Electrical Component List
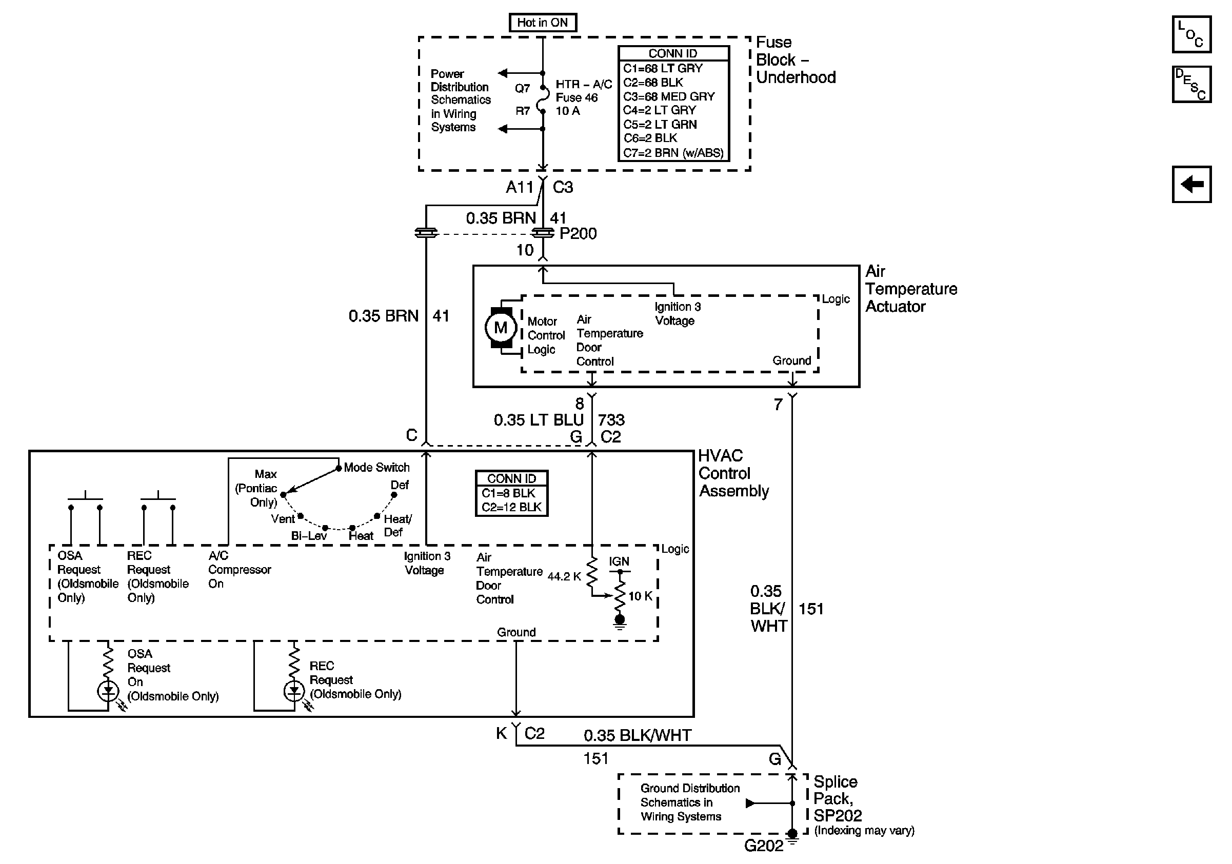
Air Temperature Description and Operation
Compressor Controls
IGN SW-BATT1, HTR A/C, ERLS and CRANK Fuses
G202