GM Service Manual Online
For 1990-2009 cars only
Makes
🢒
Cadillac
🢒
2004
🢒
Escalade EXT
🢒 w/o ABS
w/o ABS
w/o ABS
Master Electrical Component List
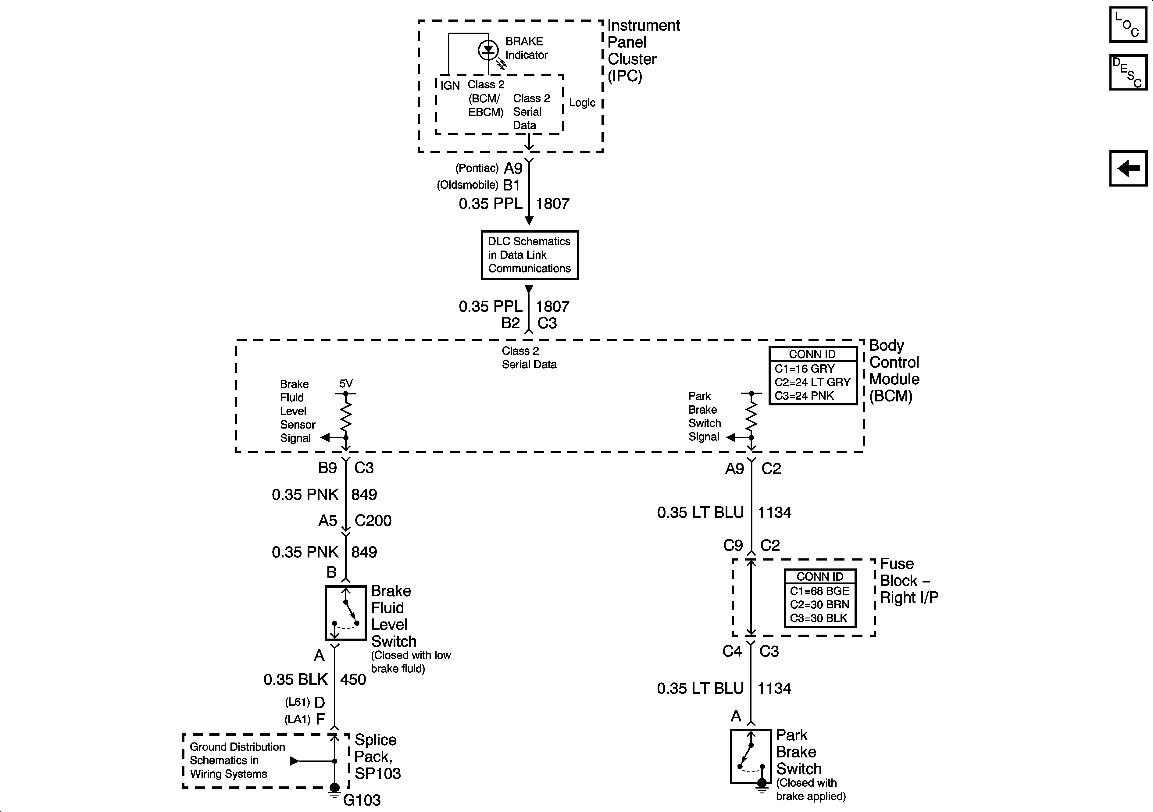
Brake Warning System Description and Operation
w/ABS
Data Link Connector (DLC) Schematics
G103 and G105