GM Service Manual Online
For 1990-2009 cars only
Makes
🢒
Cadillac
🢒
2004
🢒
Escalade EXT
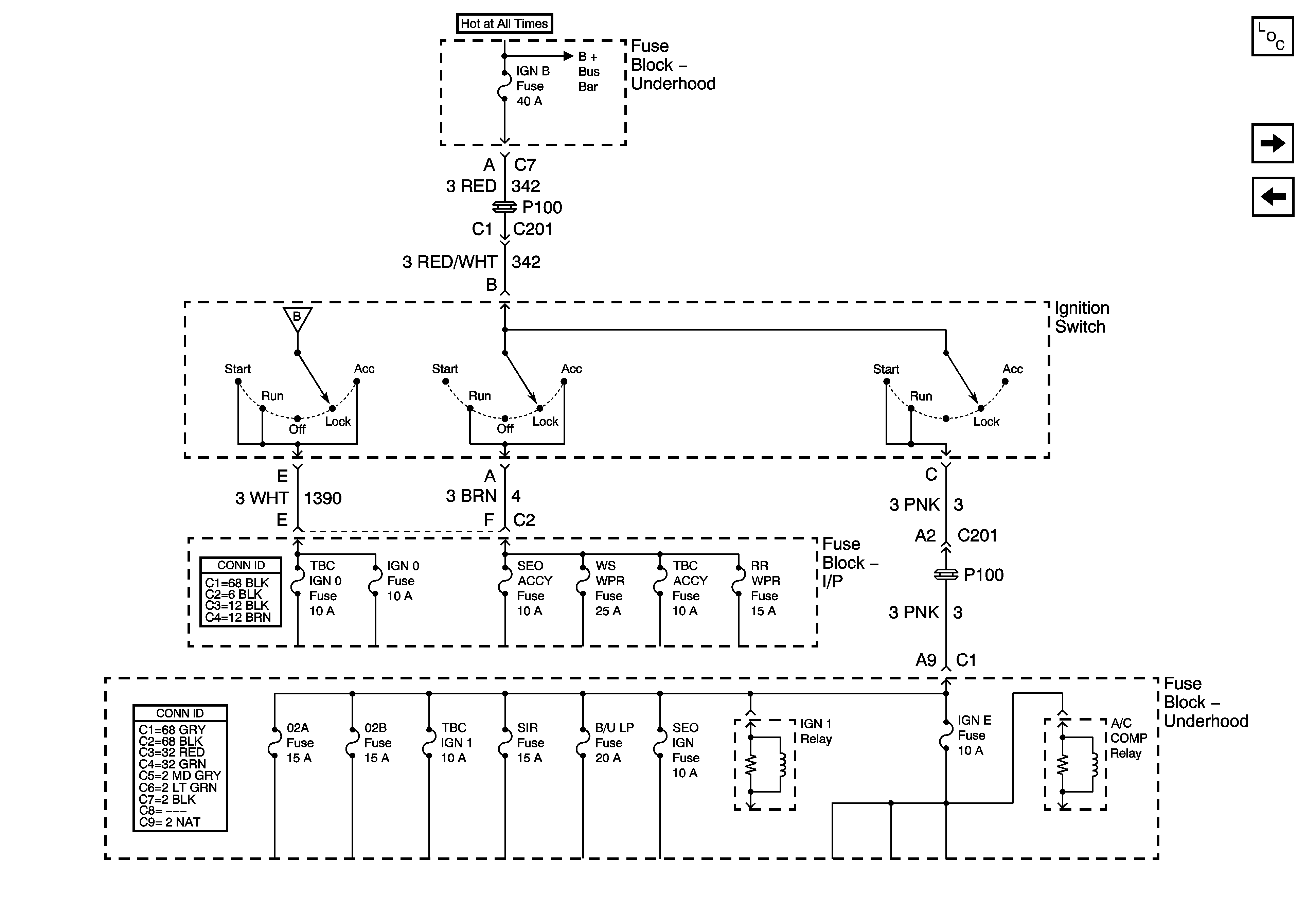
🢒 Ignition Switch - ACC/RUN/START, ACC/RUN, and RUN/START Bus Bars
Ignition Switch - ACC/RUN/START, ACC/RUN, and RUN/START Bus Bars
Ignition Switch - ACC/RUN/START, ACC/RUN, and RUN/START Bus Bars
Master Electrical Component List
LBEC 1, LBEC 2, MBEC 1 Fuses
Ignition Switch - START, and RUN Bus Bars
B+ Bus - 1 of 2
Ignition Switch - START, and RUN Bus Bars