GM Service Manual Online
For 1990-2009 cars only
Makes
🢒
Cadillac
🢒
2004
🢒
Escalade EXT
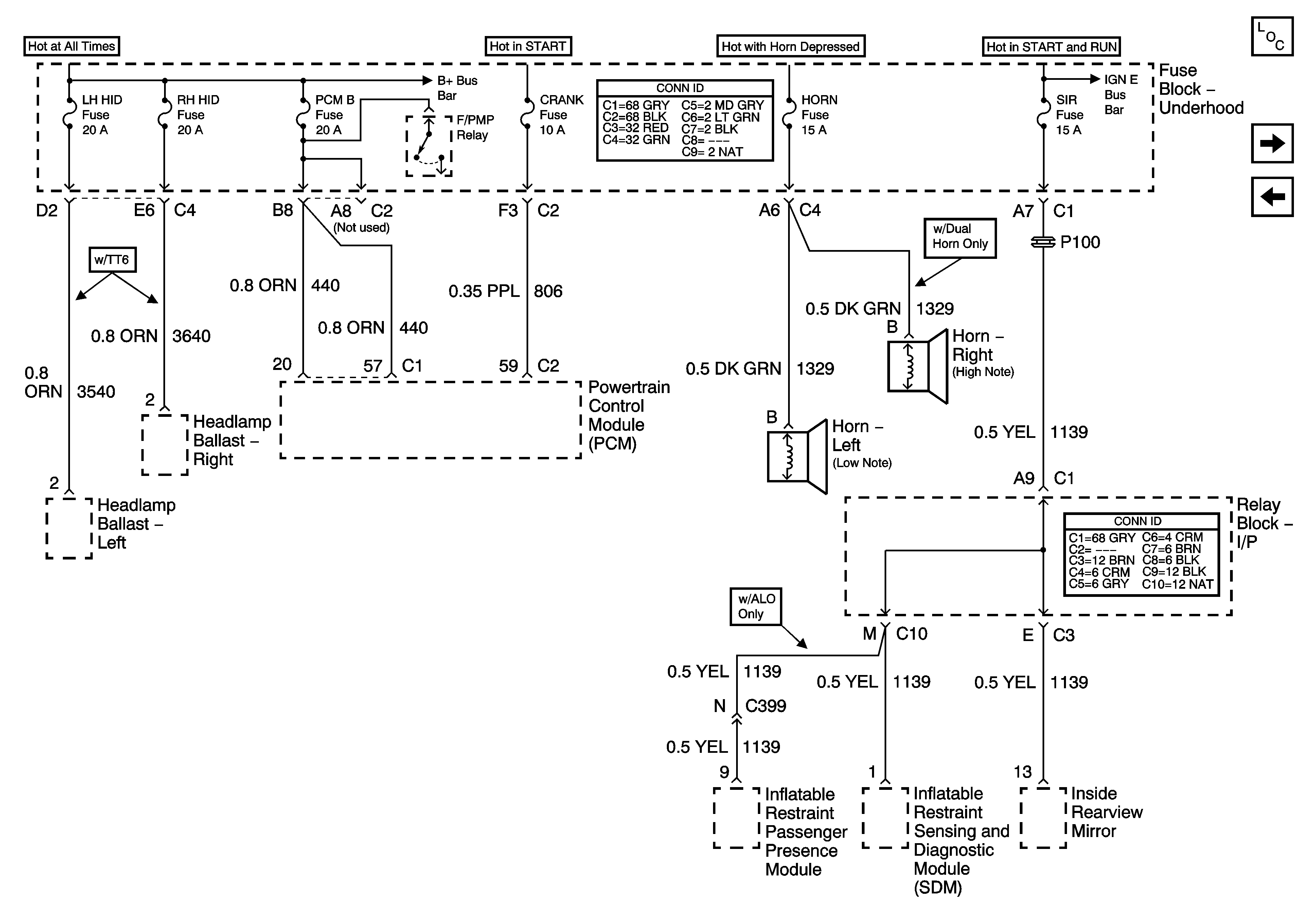
🢒 LH HID, RH HID, PCM B, CRANK, HORN, SIR Fuses
LH HID, RH HID, PCM B, CRANK, HORN, SIR Fuses
LH HID, RH HID, PCM B, CRANK, HORN, SIR Fuses
Master Electrical Component List
IGN 0, TBC IGN 0, TBC ACCY, SEO ACCY, W/S WPR, RR WPR Fuses
HVAC/ECAS, RR HVAC, BLOWER, RR DEFOG, STOP LP, TREC Fuses
B+ Bus - 1 of 2
Ignition Switch - ACC/RUN/START, ACC/RUN, and RUN/START Bus Bars