GM Service Manual Online
For 1990-2009 cars only
Makes
🢒
Cadillac
🢒
2004
🢒
Escalade EXT
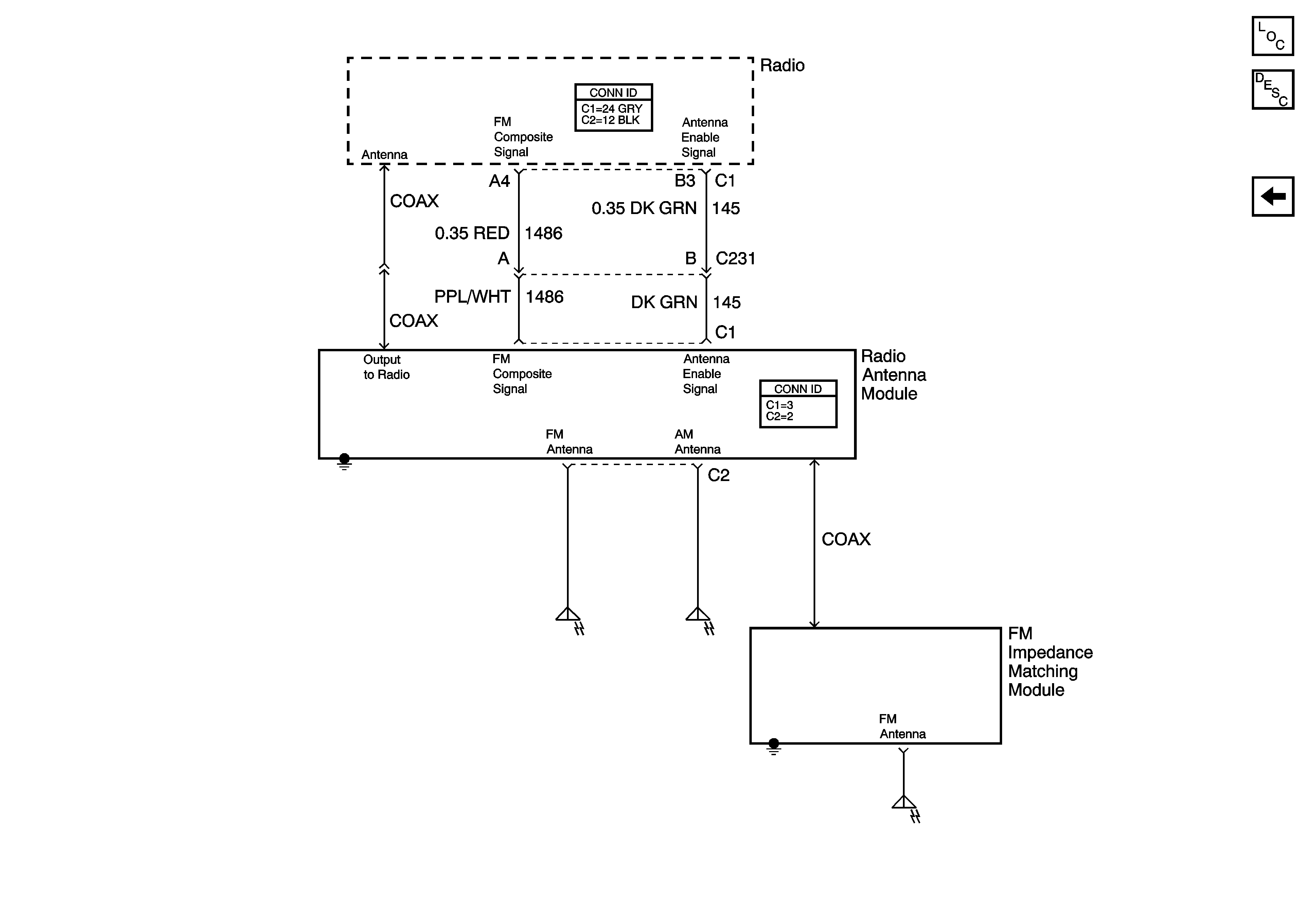
🢒 Antenna Module
Antenna Module
Antenna Module
Master Electrical Component List
Radio/Audio System Description and Operation
Rear Seat Entertainment - w/ U42
Radio Power, Ground, Audio Signals