GM Service Manual Online
For 1990-2009 cars only
Makes
🢒
Cadillac
🢒
2004
🢒
Escalade EXT
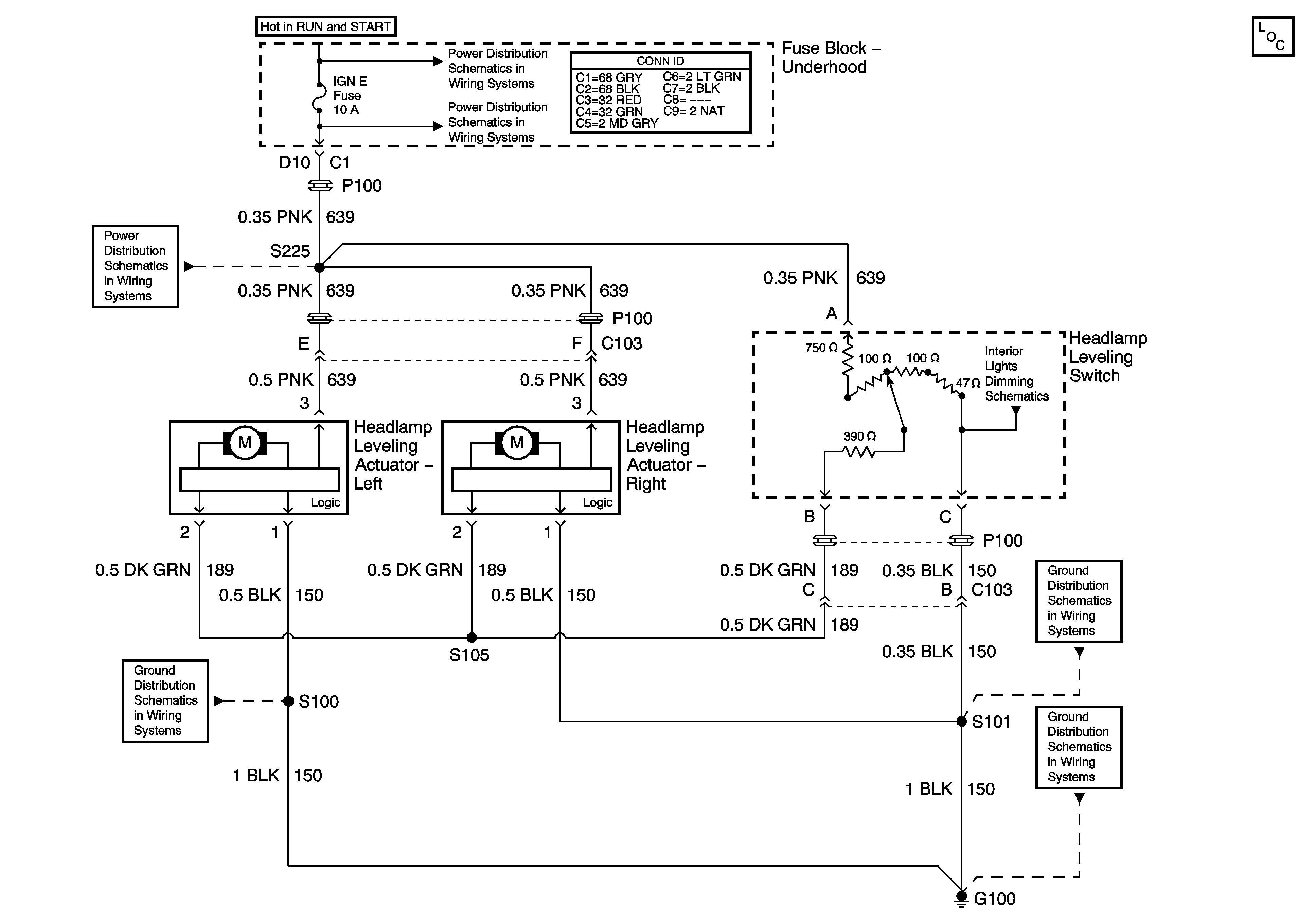
🢒 Headlight Leveling Schematics
Headlight Leveling Schematics
Master Electrical Component List
Ignition Switch - ACC/RUN/START, ACC/RUN, and RUN/START Bus Bars
IGN E Fuse
IGN E Fuse
S100 - Export
I/P Dimming Supply Voltage - 7 of 7
S101 - Export
G100, G101, G105, G106