GM Service Manual Online
For 1990-2009 cars only
Makes
🢒
Cadillac
🢒
2004
🢒
Escalade EXT
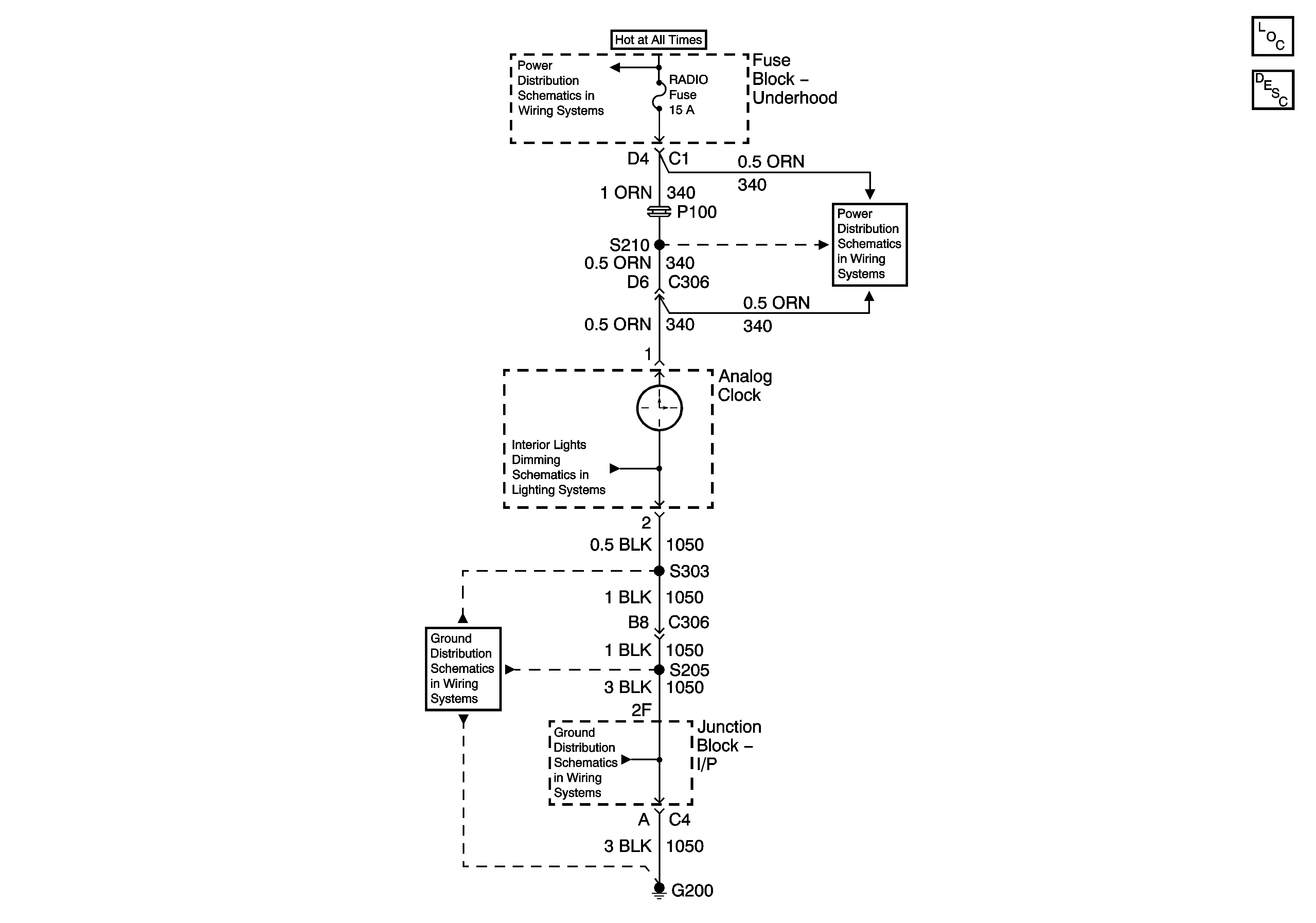
🢒 Analog Clock - Z75 Only
Analog Clock - Z75 Only
Analog Clock - Z75 Only
Master Electrical Component List
Driver Information Center (DIC) Description and Operation
B+ Bus - 1 of 2
4WS, RADIO, RADIO AMP Fuses
I/P Dimming Supply Voltage - 1 of 7
G200 - 1 of 3
G200 - 1 of 3