GM Service Manual Online
For 1990-2009 cars only
Makes
🢒
Cadillac
🢒
2004
🢒
Escalade EXT
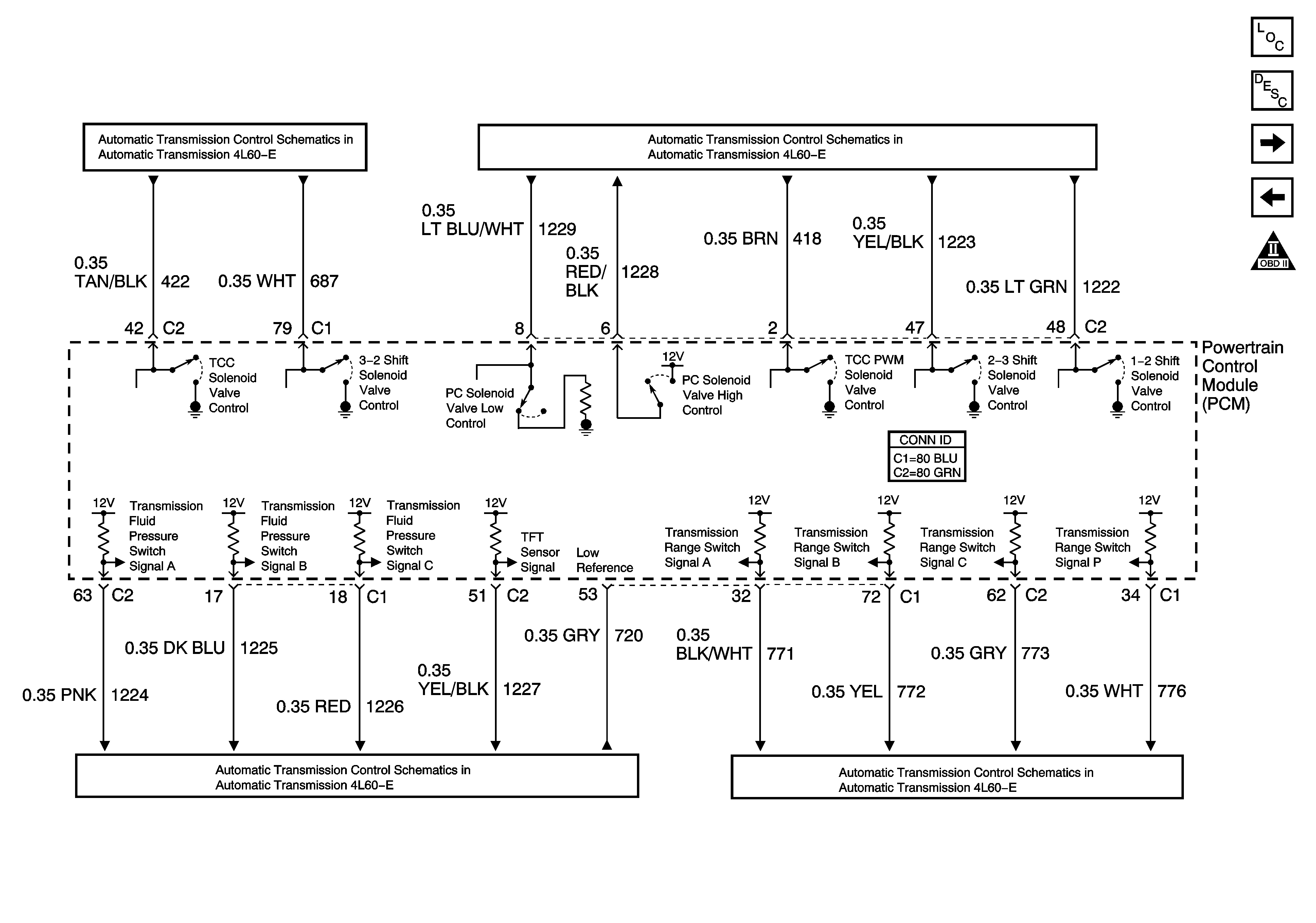
🢒 Transmission Controls - A/T 4L60-E
Transmission Controls - A/T 4L60-E
Transmission Controls - A/T - 4L60-E
Master Electrical Component List
Powertrain Control Module Description
Transmission Controls - A/T 4L80-E
Controlled/Monitored Subsystem References - 2 of 2
Engine Controls Schematic Icons
Valve Controls and Brake Switch
Switch Inputs
Switch Inputs
Tow/Haul Switch and PNP Switch Inputs