GM Service Manual Online
For 1990-2009 cars only
Makes
🢒
Cadillac
🢒
2004
🢒
Escalade EXT
🢒 Controlled/Monitored Subsystem References
Controlled/Monitored Subsystem References
Controlled/Monitored Subsystem References
Master Electrical Component List
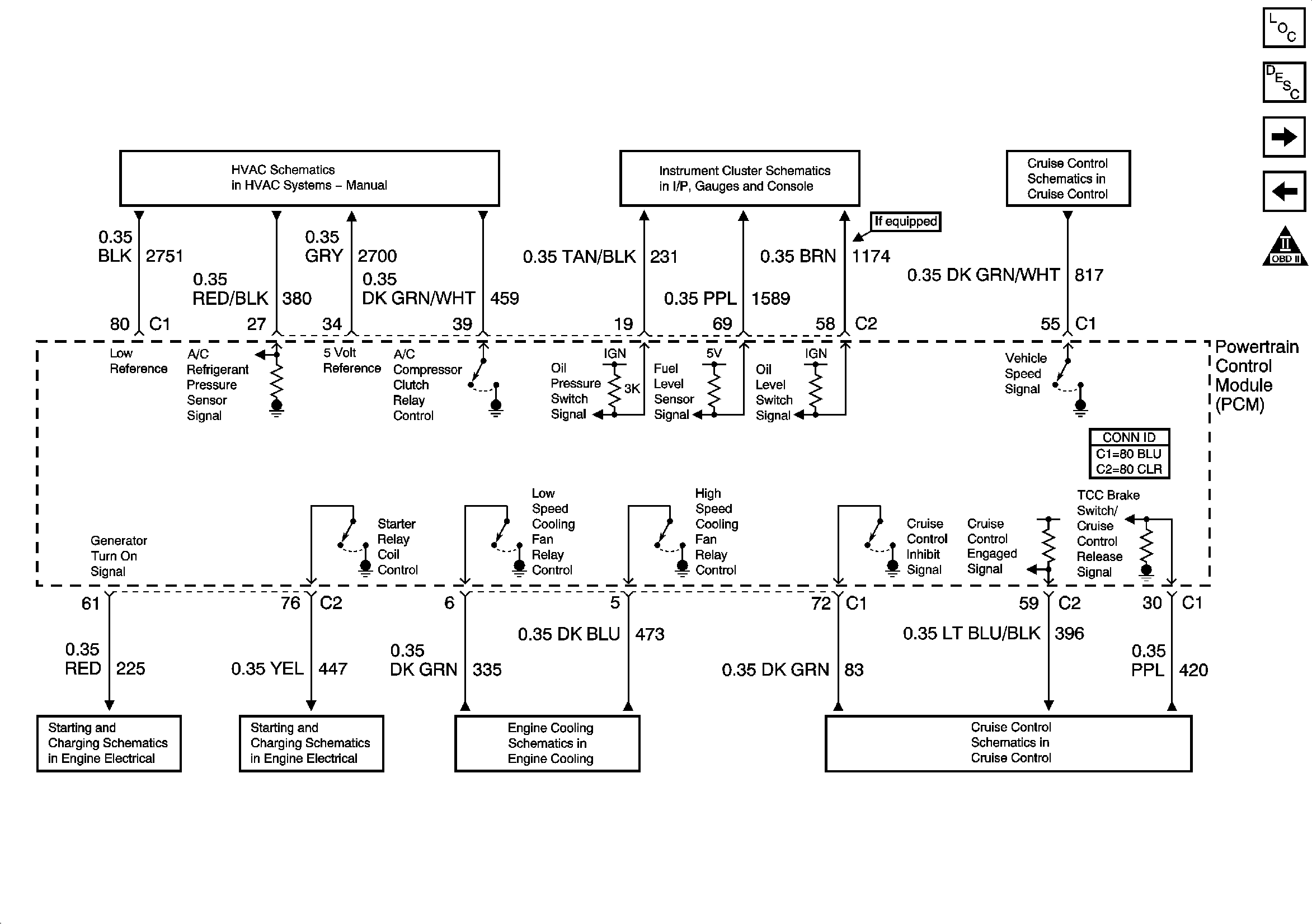
Powertrain Control Module Description
Transmission Controls - A/T
MAF, EVAP Controls, IAC, and EGR
OBD II Symbol Description Notice
Compressor Controls
Oil Pressure and Level Switch
Power and Ground
Charging System
Starting System - LA1
Cooling Fans
Power and Ground