GM Service Manual Online
For 1990-2009 cars only

Caution: Storing a jack, a tire, or other equipment in the passenger compartment of the vehicle could cause injury. In a sudden stop or collision, loose equipment could strike someone. Store all these in the proper place.

Notice: Storing an aluminum wheel with a flat tire under your vehicle for an extended period of time or with the valve stem pointing up can damage the wheel. Always stow the wheel with the valve stem pointing down and have the wheel/tire repaired as soon as possible.

Store the tire under the rear of the vehicle in the spare tire carrier. Use the art and text following to help you:


  1. Object Number: 805773  Size: B4

    Spare Tire (Valve Stem Pointed Down)

  2. Hoist Assembly

  3. Hoist Cable

  4. Tire Retainer

  5. Hoist Shaft

  6. Hoist End of Extension Tool

  7. Hoist Shaft Access Hole

  8. Wheel Wrench

  9. Jack Handle Extensions

  10. Spare Tire Lock (If Equipped)

  1. Put the tire on the ground at the rear of the vehicle with the valve stem pointed down and toward the rear of the vehicle.

  2. Object Number: 1613524  Size: A2

    Tilt the tire retainer (G) downward and through the wheel opening. Make sure the retainer is fully seated across the underside of the wheel.


    Object Number: 805764  Size: B2
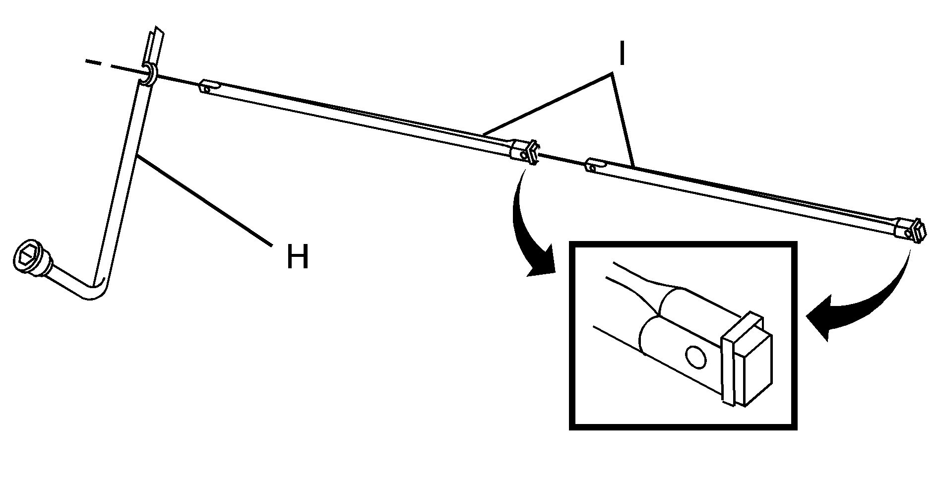
  3. Attach the wheel wrench (H) and extensions (I) together.

  4. Object Number: 805774  Size: A3

    Insert the hoist end (F) through the hole (G) in the rear bumper and into the hoist shaft.

  5. Raise the tire partway upward. Make sure the retainer is seated in the wheel opening.
  6. Raise the tire fully against the underside of the vehicle by turning the wheel wrench clockwise until you hear two clicks or feel it skip twice. The cable cannot be overtightened.

  7. Object Number: 811589  Size: B4
  8. Make sure the tire is stored securely. Push, pull (A), and then try to turn (B) the tire. If the tire moves, use the wheel wrench to tighten the cable. Reinstall the spare tire lock (if equipped).

To store the jack and tools, do the following:

  1. Return the tools to the tool bag and place it back in the top-box storage area.
  2. Assemble the wheel blocks and jack together with the wing nut by reversing Step 2 under Removing the Spare Tire and Tools .

  3. Object Number: 805432  Size: B2
  4. Replace the jack cover and tighten the jack-cover wing nuts.