GM Service Manual Online
For 1990-2009 cars only
Makes
🢒
Cadillac
🢒
2006
🢒
Escalade EXT
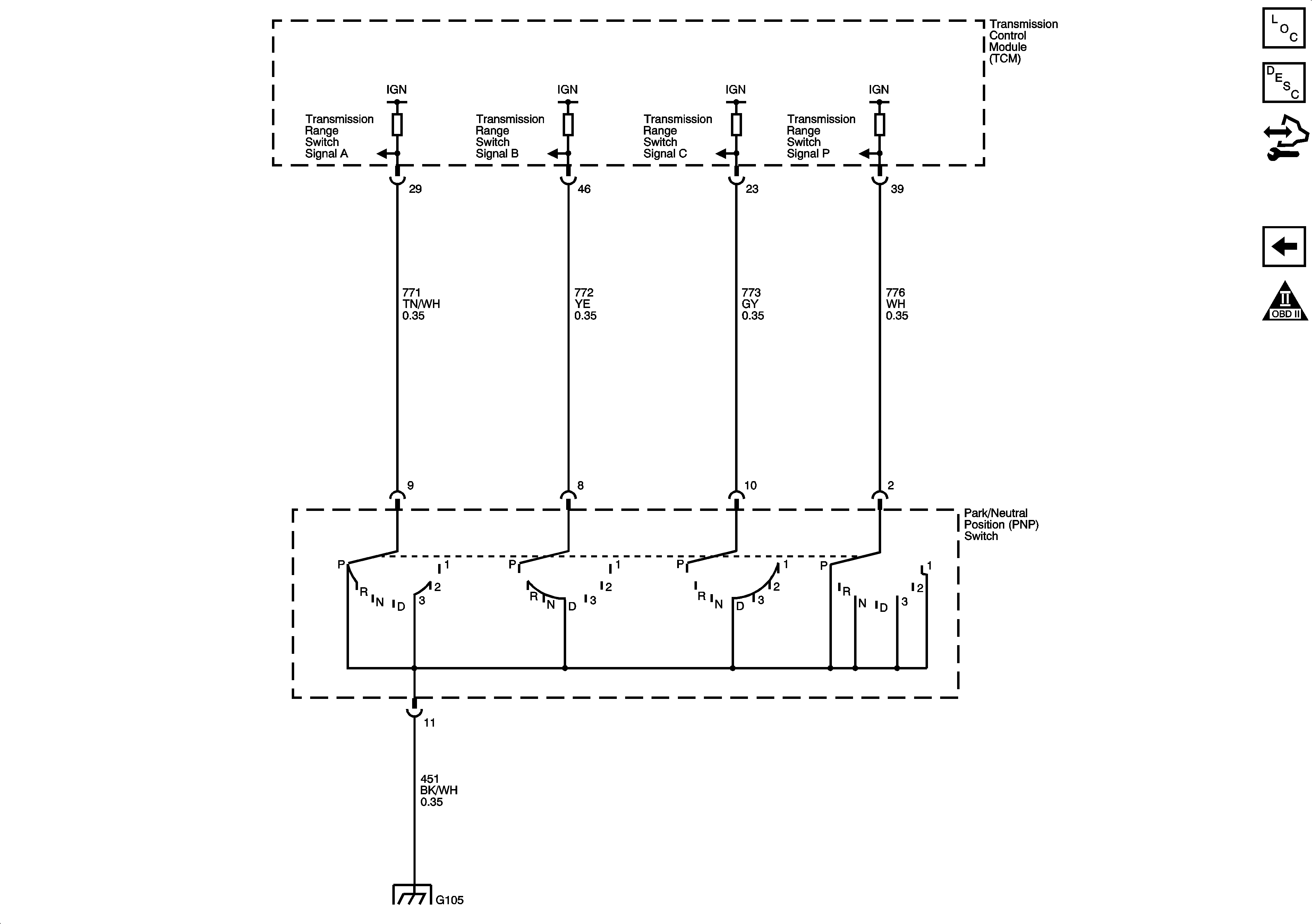
🢒 PNP Switch (LE5)
PNP Switch (LE5)
PNP Switch (LE5)
Master Electrical Component List
Transmission Component and System Description
Control Module References
ISS, Pressure Control and VSS (LE5)
Automatic Transmission Schematic Icons
G103, G104 and G105