GM Service Manual Online
For 1990-2009 cars only

High Mount Stop Lamp Replacement Yukon


Object Number: 1707481  Size: MF

Callout

Component Name

Preliminary Procedure

Remove the high mount stop lamp applique. Refer to Back Body Opening Upper Applique Replacement .

1

High Mount Stop Lamp Assembly Nuts (Qty: 2)

Notice: Refer to Fastener Notice in the Preface section.

Tighten
2 N·m (18 lb in)

2

High Mount Stop Lamp Assembly

High Mount Stop Lamp Replacement Escalade


Object Number: 1788410  Size: SF

Callout

Component Name

Preliminary Procedure

Remove the high mount stop lamp applique. Refer to Back Body Opening Upper Applique Replacement .

1

CHMSL Electrical Connector

2

High Mount Stop Lamp Assembly Nuts (Qty: 4)

Notice: Refer to Fastener Notice in the Preface section.

Tighten
2 N·m (18 lb in)

3

High Mount Stop Lamp Assembly

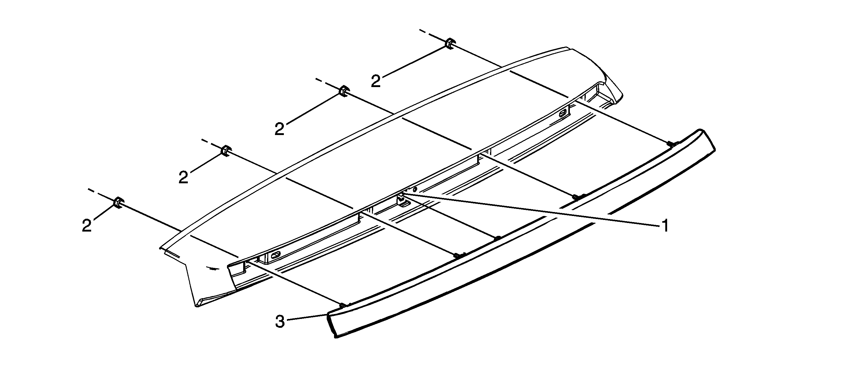
High Mount Stop Lamp Replacement Avalanche


Object Number: 1823410  Size: MF

Callout

Component Name

Preliminary Procedure

Remove the center cargo bridge panel. Refer to Cargo Box Bridge Cross Bar Replacement .

1

High Mounted Stop Lamp Attachment Clips (Qty: 2)

2

High Mount Stop Lamp Assembly Screw

Notice: Refer to Fastener Notice in the Preface section.

Tighten
2 N·m (18 lb in)

3

High Mount Stop Lamp Assembly