GM Service Manual Online
For 1990-2009 cars only

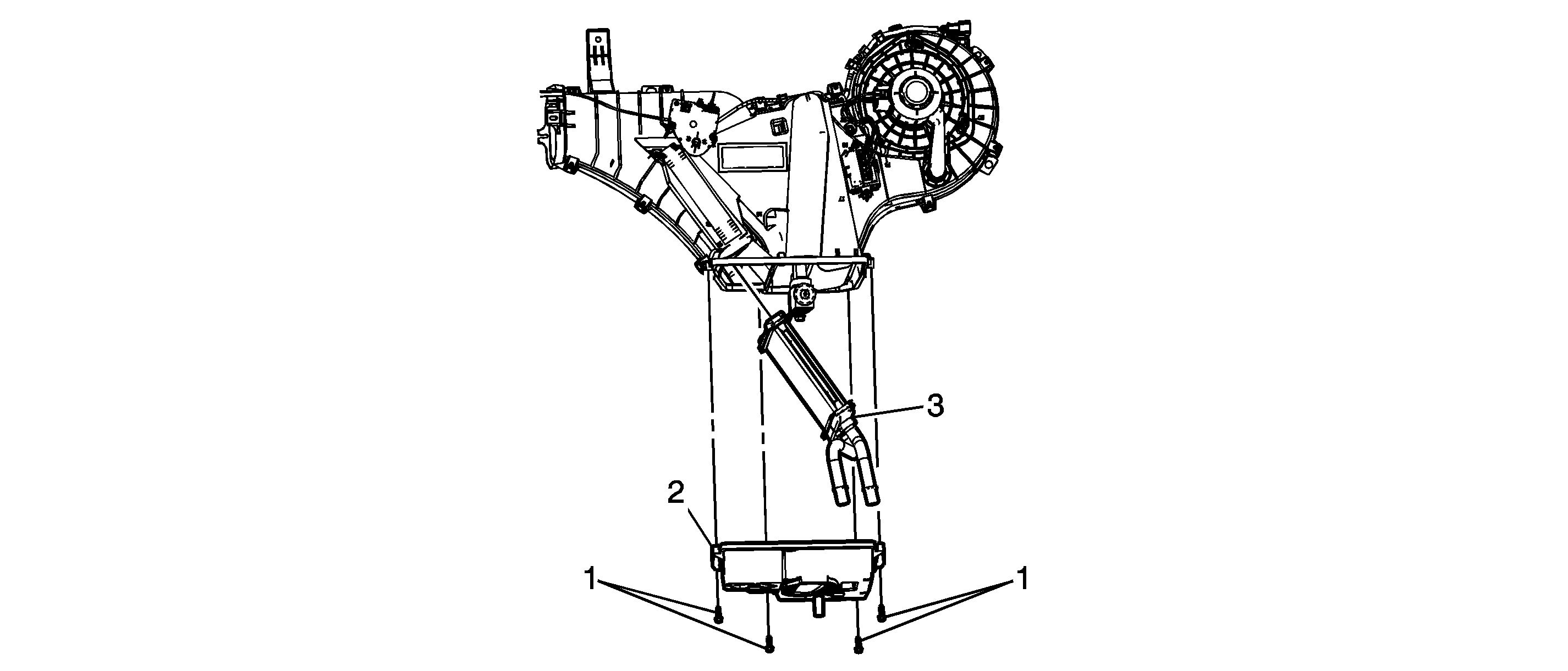
Auxiliary Heater Core Replacement Suburban XL


Object Number: 1699939  Size: SF

Callout

Component Name

Preliminary Procedure

  1. Remove the HVAC module - auxiliary. Refer to Auxiliary HVAC Module Replacement .
  2. Disconnect any wiring connectors or harnesses from HVAC module.

1

Auxiliary HVAC Module Lower Cover Bolt (Qty: 4)

Notice: Refer to Fastener Notice in the Preface section.

Tip
Remove any fastener clips that secure cover to module.

Tighten
9 N·m (80 lb in)

2

Auxiliary HVAC Module Lower Cover

3

Auxiliary HVAC Heater Core

Tip
Ensure all seals and gaskets are in place upon installation.

Auxiliary Heater Core Replacement Tahoe/Yukon/Escalade


Object Number: 1848584  Size: MF

Callout

Component Name

Preliminary Procedure

  1. Remove the HVAC module - auxiliary. Refer to Auxiliary HVAC Module Replacement .
  2. Disconnect any wiring connectors or harnesses from HVAC module.

1

HVAC Module Gasket

2

Auxiliary HVAC Module Lower Cover Bolt (Qty: 3)

Notice: Refer to Fastener Notice in the Preface section.

Tip
Remove any fastener clips that secure cover to module.

Tighten
3 N·m (27 lb in)

3

Auxiliary HVAC Module Lower Cover

4

Separate the HVAC Module Case

Tip
Remove any fastener clips that secure cover to module.

Tighten
3 N·m (27 lb in)

5

Auxiliary HVAC Heater Core

Tip
Ensure all seals and gaskets are in place upon installation.