GM Service Manual Online
For 1990-2009 cars only
Makes
🢒
Cadillac
🢒
2007
🢒
Escalade EXT
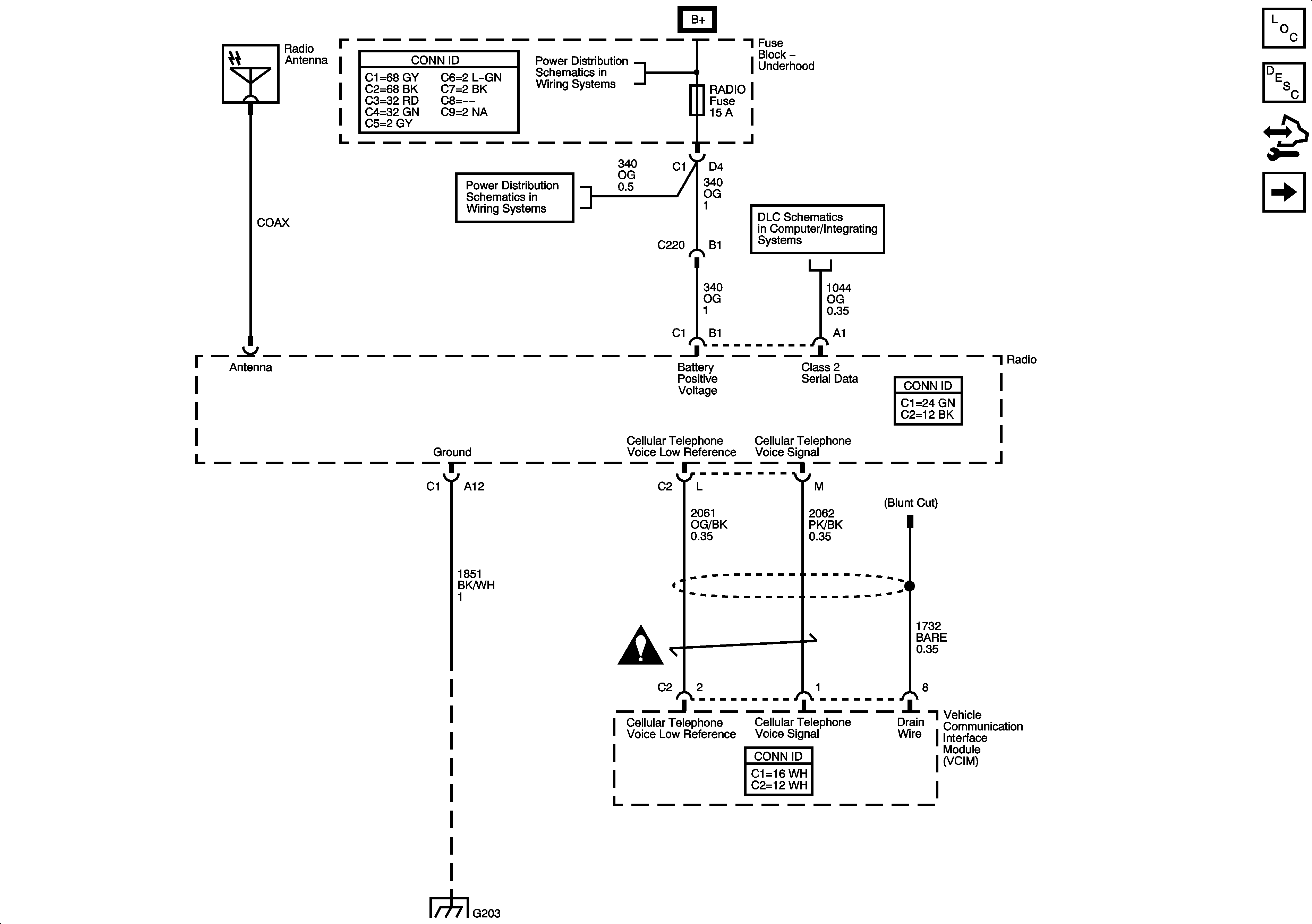
🢒 Power, Ground, Serial Data, and VCIM
Power, Ground, Serial Data, and VCIM
Power, Ground, Serial Data, and VCIM
Master Electrical Component List
Radio/Audio System Description and Operation
Control Module References
Rear Seat Entertainment (RSE) Assembly (U42)
B+ Bus Bar
RADIO, RADIO/AMP, and S/ROOF Fuses
Power, Ground, DLC, and Splice Pack SP205
Entertainment Schematic Icons
G203 - 1 of 2