GM Service Manual Online
For 1990-2009 cars only
Makes
🢒
Cadillac
🢒
2007
🢒
Escalade EXT
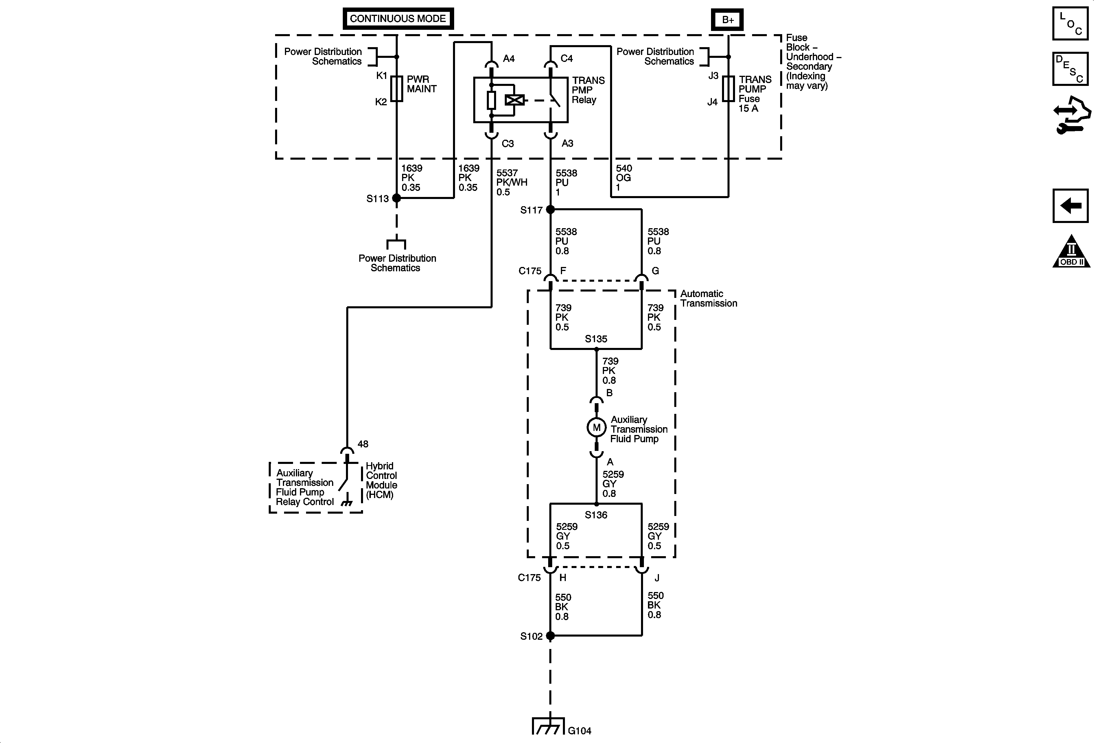
🢒 Auxiliary Pump Controls (HP2)
Auxiliary Pump Controls (HP2)
Auxiliary Pump Controls (HP2)
Master Electrical Component List
Electronic Component Description (M33 Only)
Control Module References
PNP Switch, 4WD Signal, Tow/Haul, Serial Data, and Indicator
Automatic Transmission Schematic Icons
COOL PUMP, HYBRID O2A, HYBRID O2B, IGN B, and PWR MAINT Fuses
ABS, AUX HTR PMP, ESCM, HCM-B, MBEC1, RTD, STUD 1, STUD 2, TRANS PUMP, and VSES/ECAS Fuses and RT DOOR and SEAT Circuit Breakers
COOL PUMP, HYBRID O2A, HYBRID O2B, IGN B, and PWR MAINT Fuses
G104, G107, and G110