GM Service Manual Online
For 1990-2009 cars only
Makes
🢒
Cadillac
🢒
2007
🢒
Escalade EXT
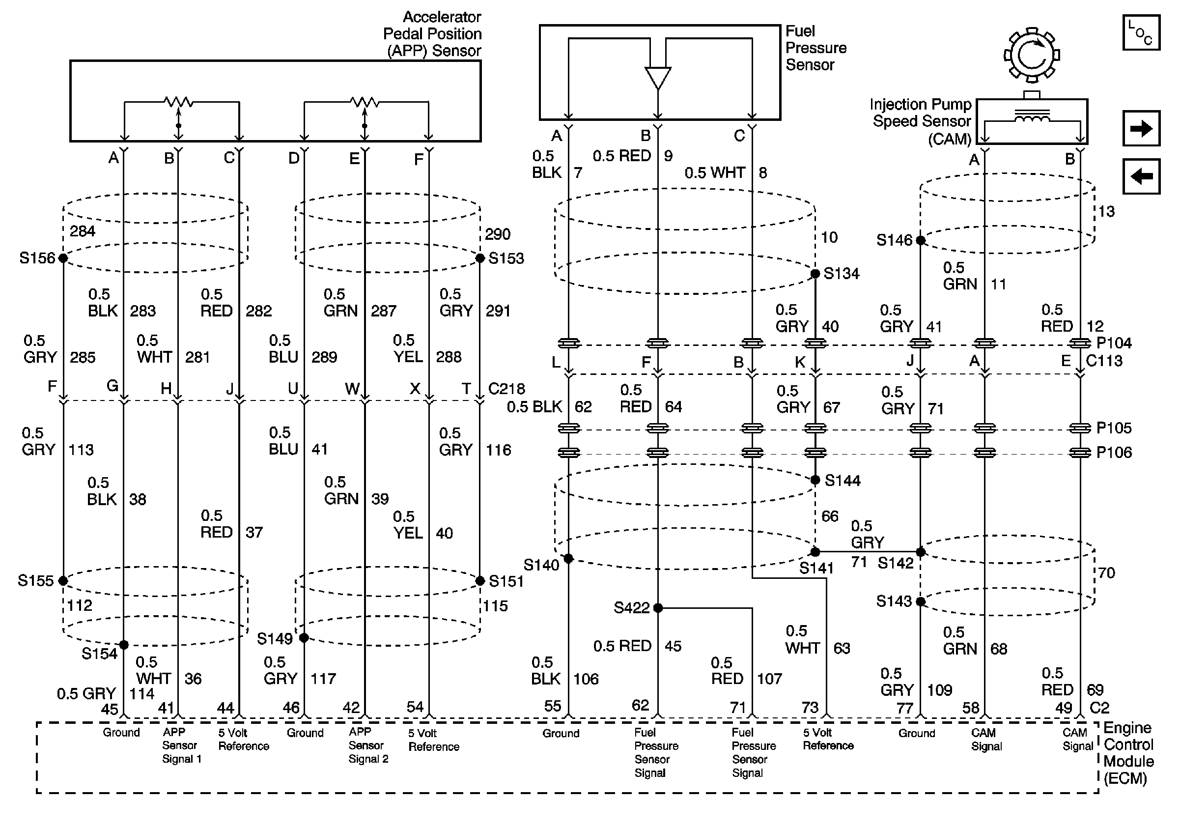
🢒 Acc. Pedal Sensors, Fuel Pressure Sensor, Injector Pump Speed Sensor
Acc. Pedal Sensors, Fuel Pressure Sensor, Injector Pump Speed Sensor
Acc. Pedal Sensors, Fuel Pressure Sensor, Injector Pump Speed Sensor
Master Electrical Component List
Engine Speed, Fuel Temperature, Engine Coolant Temperature, ATM Temperature Sensors
Cylinder 2, 4, 6, Fuel Injectors