GM Service Manual Online
For 1990-2009 cars only
Makes
🢒
Cadillac
🢒
2007
🢒
Escalade EXT
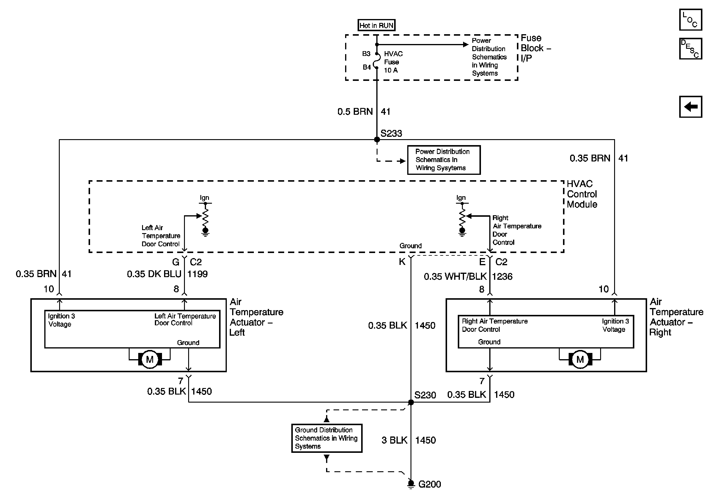
🢒 Temperature Actuators
Temperature Actuators
Temperature Actuators
Master Electrical Component List
Air Temperature Description and Operation
Compressor Controls
Blower, Cruise, HVAC
Blower, Cruise, HVAC
G200 (Page 1 of 2)