GM Service Manual Online
For 1990-2009 cars only
Makes
🢒
Cadillac
🢒
2007
🢒
Escalade EXT
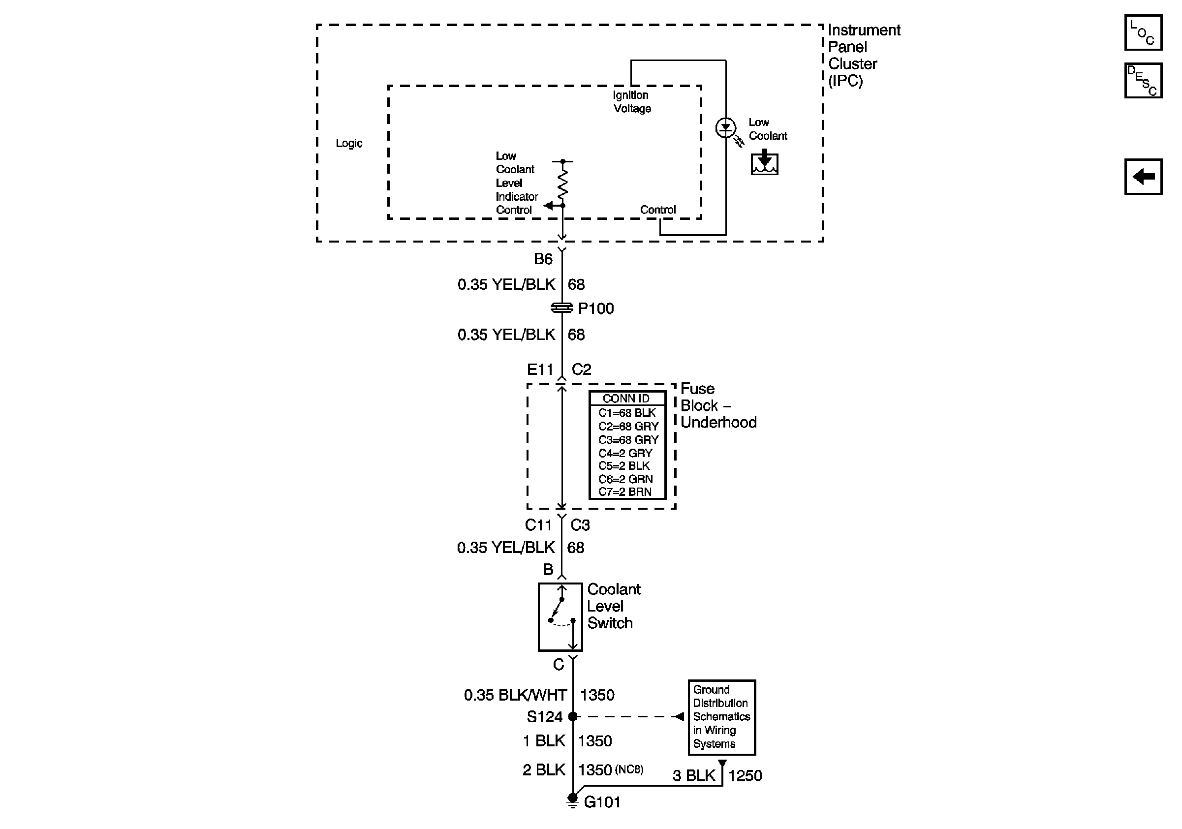
🢒 Coolant Level Indicator
Coolant Level Indicator
Coolant Level Indicator
Master Electrical Component List
Cooling System Description and Operation
Cooling Fans
G101