GM Service Manual Online
For 1990-2009 cars only
Makes
🢒
Cadillac
🢒
2007
🢒
Escalade EXT
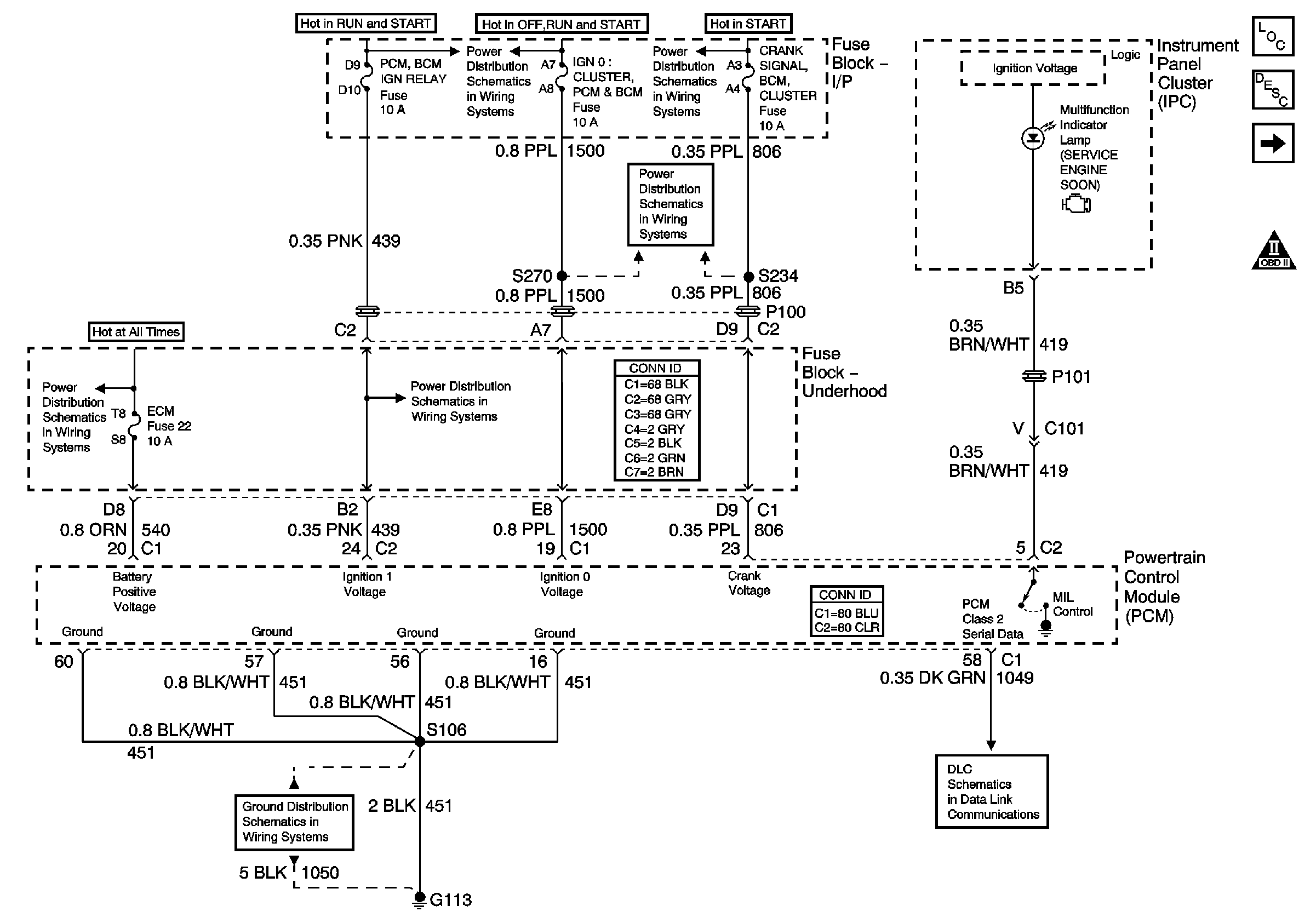
🢒 Power,Ground,DLC,and MIL
Power,Ground,DLC,and MIL
Power, Ground, MIL and Serial Data
Master Electrical Component List
Powertrain Control Module Description
Engine Data Sensors-5 Volt and Low Reference
OBD II Symbol Description Notice
Power Distribution Schematics (IGN 1)
Power Distribution Schematics (IGN 1)
Fuse Block Underhood Power Bussing (Page 1 of 2)
PCM, BCM, Cluster, Turn, SDM
G100, G111, and G113
Data Link Connector (DLC)