GM Service Manual Online
For 1990-2009 cars only
Makes
🢒
Cadillac
🢒
2007
🢒
Escalade EXT
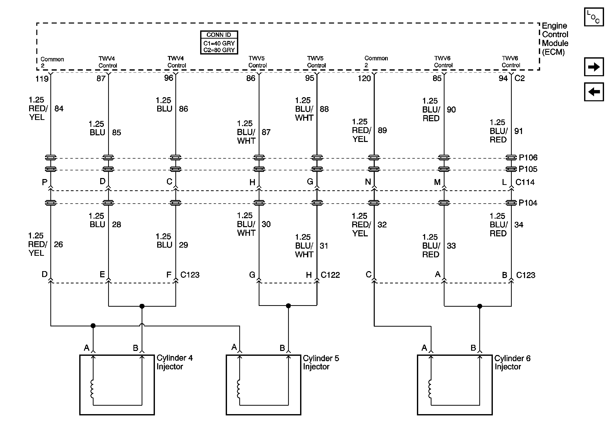
🢒 Engine Controls LG4 Schematics - ECM, Cylinder Injectors 4, 5, 6
Engine Controls LG4 Schematics - ECM, Cylinder Injectors 4, 5, 6
Fuel Controls - Fuel Injectors 4,5,6
Master Electrical Component List
Engine Controls LG4 Schematics - VSS, Engine Control Module ECM
Engine Controls LG4 Schematics - ECM, Cylinder Injectors 1,2,3