GM Service Manual Online
For 1990-2009 cars only
Makes
🢒
Cadillac
🢒
2007
🢒
Escalade EXT
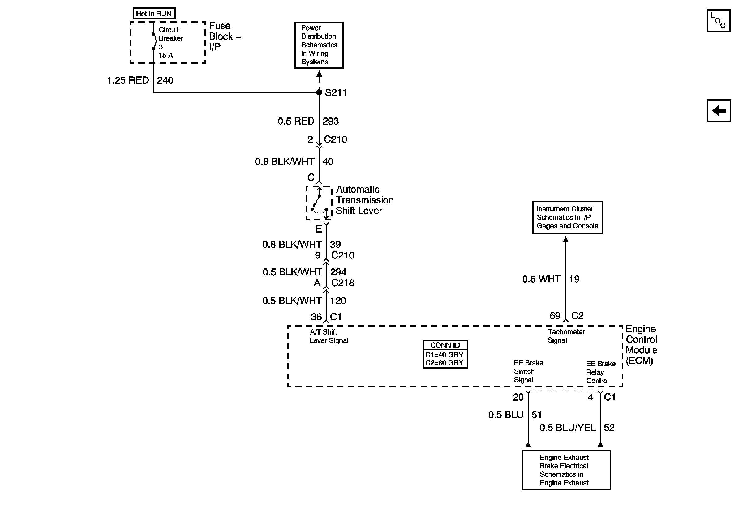
🢒 Engine Controls LG4 Schematics - VSS, Engine Control Module ECM
Engine Controls LG4 Schematics - VSS, Engine Control Module ECM
Controlled/Monitored Subsystem References
Master Electrical Component List
Engine Controls LG4 Schematics - ECM, Cylinder Injectors 4, 5, 6
Power Distribution System Schematics - Fuse Block I/P, C.B. 1, 2, 3
Isuzu IPC System Schematics - Exhaust BRK Lamp, Tachometer
Engine Exhaust Schematics - IPC, EDCM, ENG Exhaust BRK SW and ECM