GM Service Manual Online
For 1990-2009 cars only
Makes
🢒
Cadillac
🢒
2007
🢒
Escalade EXT
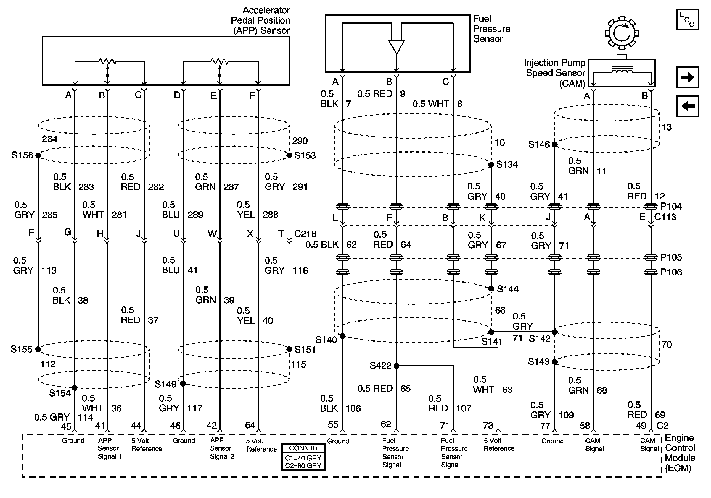
🢒 Engine Controls LG4 Schematics - APP, Fuel Pressure and CAM Sensors
Engine Controls LG4 Schematics - APP, Fuel Pressure and CAM Sensors
Engine Data Sensors - Accelerator Pedal Position (APP), Fuel Pressure, Injection Pump Speed Sensors
Master Electrical Component List
Engine Controls LG4 Schematics - CKP, Fuel Temp Sen, ECT, AAT and ECM
Engine Controls LG4 Schematics - Turbo Charge Boost Pressure Sens, ECM