GM Service Manual Online
For 1990-2009 cars only
Makes
🢒
Cadillac
🢒
2007
🢒
Escalade EXT
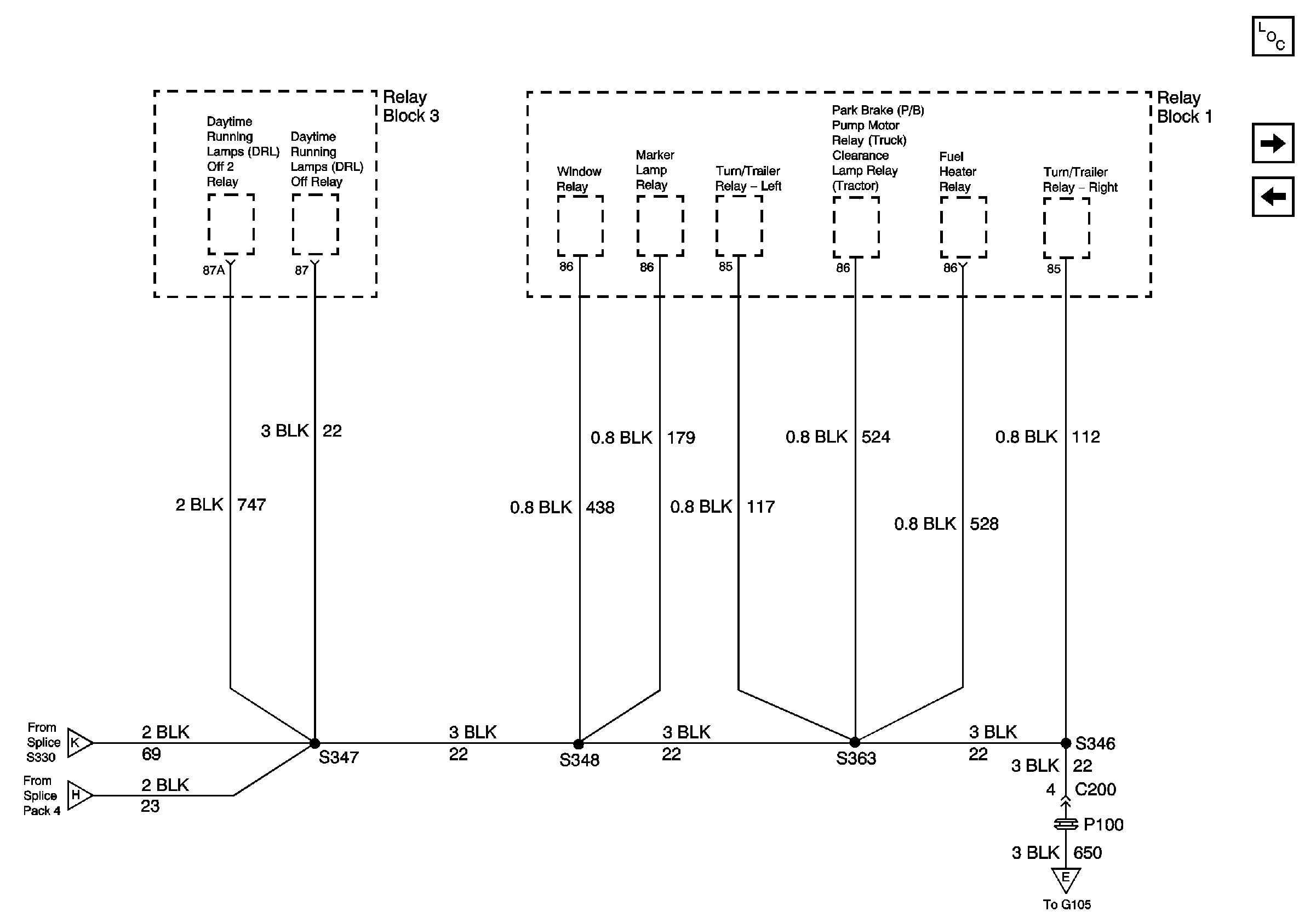
🢒 G105, S346, S347, S348, S363
G105, S346, S347, S348, S363
G105 Continued, S346, S347, S348, S363
Master Electrical Component List
G105, S330, S345, S349, S359, S360, S600
G105, S324, S326, S500
G105, S330, S345, S349, S359, S360, S600
G105, Splice Pack 1, Splice Pace 4, S450
G105, S325, S328