GM Service Manual Online
For 1990-2009 cars only
Makes
🢒
Cadillac
🢒
2008
🢒
Escalade EXT
🢒 Front
Front
Front
Master Electrical Component List
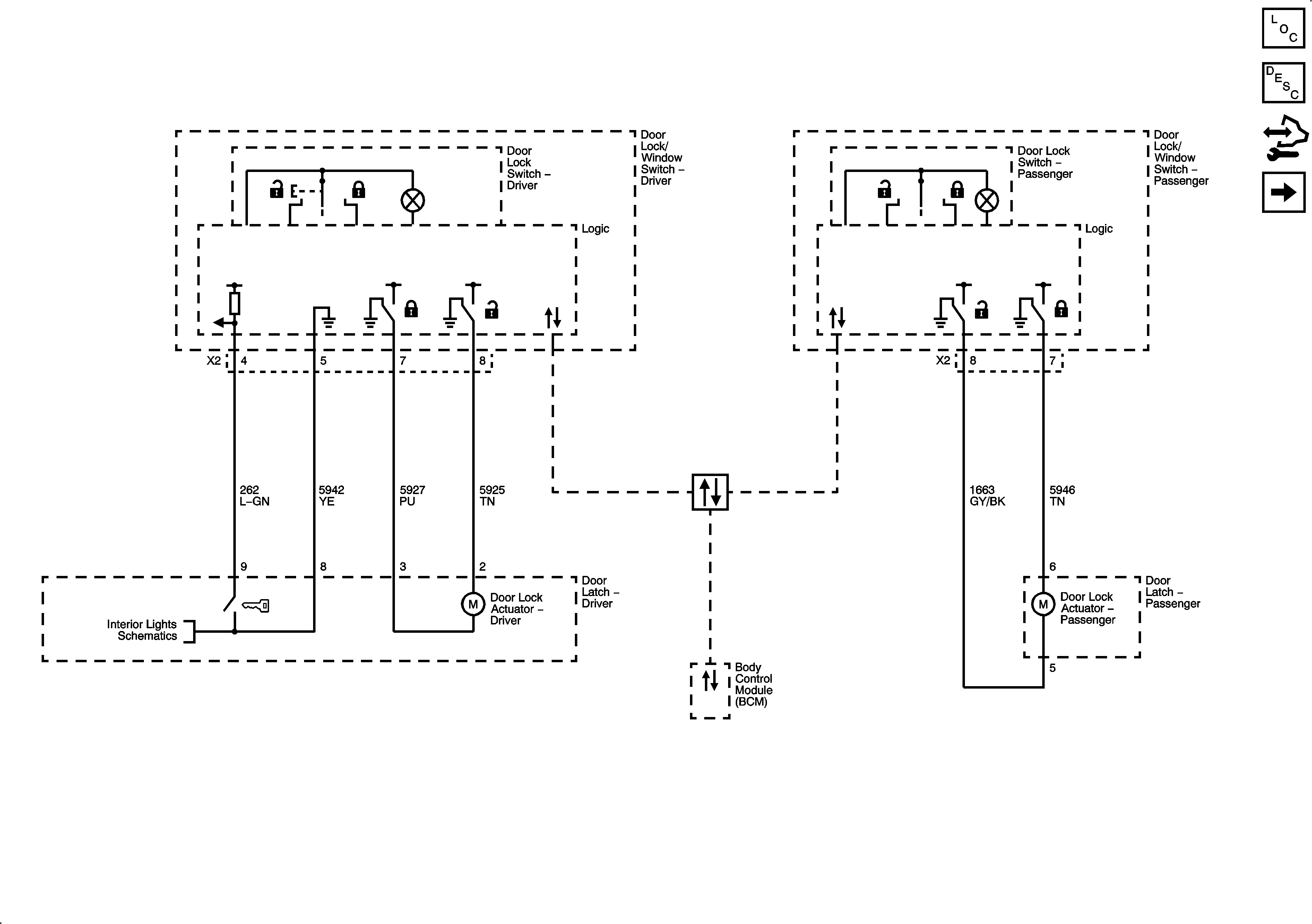
Power Door Locks Description and Operation
Control Module References
Rear
Door Jamb Switches
Data Communication Schematics