GM Service Manual Online
For 1990-2009 cars only

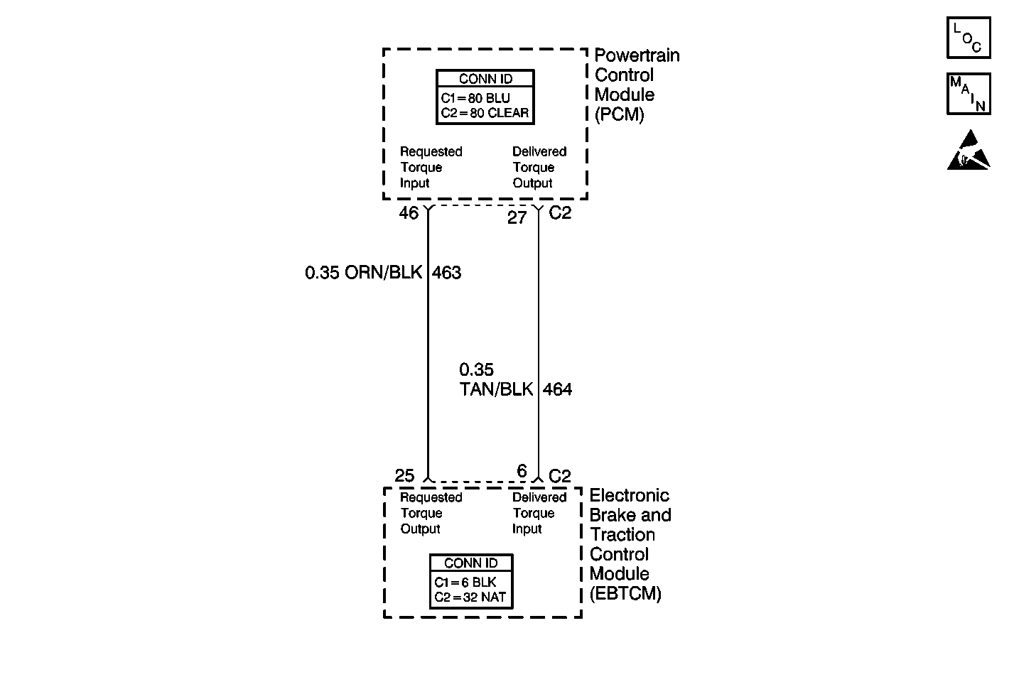
Object Number: 106449  Size: MF
ABS Components
Cell 44: CVRSS, IPM, PCM, MSVA, Class 2 and Traction Control Switch
Handling ESD Sensitive Parts Notice

Circuit Description

The EBTCM and the PCM simultaneously controlled the traction control. The PCM sends a Delivered Torque message via a pulse width modulated (PWM) signal to the EBTCM confirming the delivered torque level for proper TCS operation. The EBTCM supplies the pull up voltage.

Conditions for Setting the DTC

The DTC sets if all of the following occur:

    • The ignition is ON.
    • The PWM signal is out of range or no signal is received for 7 seconds.

Action Taken When the DTC Sets

    • A malfunction DTC is stored.
    • The TCS is disabled.
    • The TRACTION CONTROL indicator is turned ON.
    • The ABS remains functional.

Conditions for Clearing the DTC

    • The condition for DTC is no longer present and you used scan tool Clear DTCs function.
    • The condition for DTC is no longer present and you used the On-Board Clear DTCs function.
    • The EBTCM does not detect the DTC in 50 drive cycles.

Diagnostic Aids

    • It is very important that a thorough inspection of the wiring and connectors be performed. Failure to carefully and fully inspect wiring and connectors may result in misdiagnosis, causing part replacement with reappearance of the malfunction.
    • An intermittent malfunction can be caused by poor connections, broken insulation, or a wire that is broken inside the insulation.
    • If an intermittent malfunction exists, refer to Intermittents and Poor Connections Diagnosis in Wiring Systems.
    • The following conditions can cause this concern:
       - An open circuit.
       - An short to ground or voltage in the circuit.
       - A wiring problem, terminal corrosion, or poor connection in the circuit.
       - A communication frequency problem.
       - A communication duty cycle problem.
       - The EBTCM is not receiving information from the PCM.

Test Description

The numbers below refer to step numbers on the diagnostic table.

  1. Checks for proper duty cycle.

  2. Checks for proper frequency.

Step

Action

Value(s)

Yes

No

1

Did you perform the Diagnostic System Check?

--

Go to Step 2

Go to Diagnostic System Check

2

Check the following grounds, making sure each ground is clean and torqued to the proper specifications:

    • G102
    • G103

Were any loose, damaged, or corroded grounds found?

--

Go to Step 3

Go to Step 4

3

Repair the ground as necessary. Refer to Wiring Repairs in Wiring Systems.

Did you complete the repair?

--

Go to Diagnostic System Check

--

4

  1. Turn OFF the ignition.
  2. Install a scan tool.
  3. Turn ON the ignition, with the engine OFF.
  4. Using the scan tool, select ABS/TCS/ICCS Data Display (1) Diagnostics, DATA LIST 2.
  5. Monitor the Delivered Torque parameter.

Is the duty cycle within the specified range?

5-15%

Go to Step 5

Go to Step 7

5

  1. Turn OFF the ignition.
  2. Disconnect the EBTCM harness connector.
  3. Install the J 39700 universal pinout box using the J 39700-25 cable adapter to the EBTCM harness connector and the EBTCM connector.
  4. Turn ON the ignition, with the engine OFF.
  5. Using a J 39200 DMM, measure the DC Hz between the J 39700 terminals 6 and B.

Is the frequency within the range specified?

121-134 Hz

Go to Step 6

Go to Step 13

6

Replace the EBTCM. Refer to Electronic Brake Control Module Replacement .

Did you complete the repair?

--

Go to Diagnostic System Check

--

7

  1. Turn OFF the ignition.
  2. Disconnect the EBTCM harness connector.
  3. Install the J 39700 universal pinout box using the J 39700-25 cable adapter to the EBTCM harness connector and the EBTCM connector.
  4. Disconnect the PCM connector C2.
  5. Turn ON the ignition, with the engine OFF.
  6. Using a J 39200 DMM, measure the voltage between terminals 6 and B of J 39700 .

Is the voltage within the specified range?

Battery Voltage

Go to Step 8

Go to Step 10

8

  1. Turn OFF the ignition.
  2. Disconnect the J 39700-25 cable adaptor from the EBTCM leaving the cable adaptor connected to the EBTCM harness only.
  3. Turn ON the ignition, with the engine OFF.
  4. Using a J 39200 DMM, measure the voltage between the J 39700 terminals 6 and B.

Is the voltage greater than the specified value?

1 V

Go to Step 9

Go to Step 12

9

Repair the short to voltage in CKT 464. Refer to Wiring Repairs in Wiring Systems.

Did you complete the repair?

--

Go to Diagnostic System Check

--

10

  1. Turn OFF the ignition.
  2. Using a J 39200 DMM, measure the resistance between the J 39700 terminals 6 and B.

Is the resistance within the specified range?

OL (infinite)

Go to Step 6

Go to Step 11

11

Repair the short to ground in CKT 464. Refer to Wiring Repairs in Wiring Systems.

Did you complete the repair?

--

Go to Diagnostic System Check

--

12

Using a J 39200 DMM, measure the resistance between the J 39700 terminal 6 and the PCM connector C2 terminal 27.

Is the resistance less than the specified value?

2 ohms

Go to Step 13

Go to Step 14

13

Suspect PCM. Refer to Powertrain On Board Diagnostic (OBD) System Check in Engine Controls - 4.6L.

Is the diagnosis complete?

--

Go to Diagnostic System Check

--

14

Repair the open in CKT 464. Refer to Wiring Repairs in Wiring Systems.

Did you complete the repair?

--

Go to Diagnostic System Check

--