GM Service Manual Online
For 1990-2009 cars only

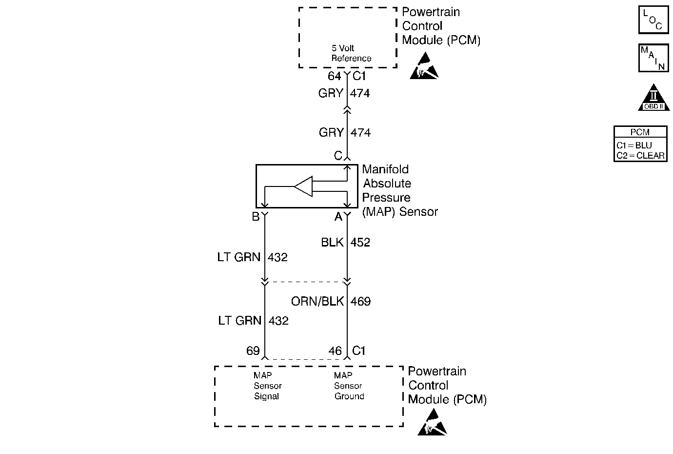
Object Number: 155122  Size: MF
Engine Controls Components
Cell 20: Sensors
OBD II Symbol Description Notice
ESD Notice

Circuit Description

This diagnostic test monitors Throttle Position (TP) sensor, Engine Speed, Manifold Absolute Pressure (MAP), EGR Flow, and Air Conditioning (A/C) clutch status. Engine operation requires that a large change in manifold pressure must be preceded by a change in engine load due to changes in throttle angle, engine speed, EGR flow or A/C clutch status. If TP sensor, engine speed, EGR Flow, and A/C Clutch remain constant, and there is a rapid change in MAP, DTC P0106 will set.

Conditions for Running the DTC

    • DTCs P0122 and P0123 not set.
    • Engine speed 500 RPM or greater.

Conditions for Setting the DTC

MAP changes by more than 10 kPa in 12.5 milliseconds during a period when engine speed varied less than 4 RPM, throttle angle varied less than 1 degree, EGR fuel compensation varied less than 4%, A/C clutch did not cycle, overheat/low coolant condition was not present, and traction control was not active.

Action Taken When the DTC Sets

    • PCM turns ON the Service Emission System message.
    • PCM uses a substitute MAP value based on engine RPM and throttle angle.
    • PCM uses 92.2 kPa for barometric pressure.
    •  The PCM will illuminate the malfunction indicator lamp (MIL) when the diagnostic runs and fails.
    •  The PCM will record operating conditions at the time the diagnostic fails. This information will be stored in the Freeze Frame and Failure Records.

Conditions for Clearing the MIL/DTC

    •  The PCM will turn the MIL OFF after three consecutive drive trips that the diagnostic runs and does not fail.
    •  A Last Test Failed (current) DTC will clear when the diagnostic runs and does not fail.
    •  A History DTC will clear after forty consecutive warm-up cycles with no failures of any emission related diagnostic test.
    • Use a scan tool to clear DTCs.
    • Interrupting PCM battery voltage may or may not clear DTCs. This practice is not recommended. Refer to Clearing Diagnostic Trouble Codes in PCM Description and Operation.

Diagnostic Aids

Perform the Powertrain Ground Check chart in this section looking for poor or open grounds which could cause an intermittent signal problem.

Use the scan tool snapshot and graph function to aid in diagnosing sensor performance failures. Refer to scan tool users guide for further information.

Test Description

Number(s) below refer to the step number(s) on the Diagnostic Table.

  1. Since a misfire can cause DTC P0106 to set, if a misfire has occurred, it should be diagnosed first.

  2. Checking if the MAP sensor can read barometric pressure correctly (85 to 105 kPa). An accurate Indicator of the expected MAP reading for any elevation can be obtained by multiplying the local barometer reading from the weather service by 3.4. This will indicate the approximate MAP (BARO) reading in kPa with the key ON and the engine OFF.

  3. Checking the MAP sensor's ability to react to a known vacuum (26 to 34 kPa).

  4. Checking the MAP sensor's ability to react to a known vacuum (26 to 34 kPa).

  5. Checking the MAP sensor's ability to react to a sudden change in vacuum.

Step

Action

Value(s)

Yes

No

1

Did you perform the Powertrain On-Board Diagnostic (OBD) System Check?

--

Go to Step 2

Go to Powertrain On Board Diagnostic (OBD) System Check

2

Is DTC P0300 also set?

--

Go to DTC P0300 Engine Misfire Detected

Go to Step 3

3

  1. Turn the key ON, engine OFF.
  2. Connect a scan tool.
  3. View the MAP sensor display. Refer to Test Descriptions .

Is the value displayed greater than the value shown?

75 kPa @ altitude

95 kPa @ sea level

Go to Step 4

Go to Step 7

4

  1. Remove the MAP sensor from the intake.
  2. Connect vacuum source to MAP sensor.
  3. Check MAP sensor display as you slowly apply vacuum to the sensor up to 20 inches.
  4. Each 1 inch of vacuum applied should result in a 3 to 4 kPa drop in MAP sensor reading. Watch for a skip or jump in sensor reading.

Was a skip or jump noted?

--

Go to Step 7

Go to Step 5

5

With 20 inches of vacuum applied to the MAP sensor, is the MAP sensor reading the same or less than the value shown?

34 kPa

Go to Step 6

Go to Step 7

6

Disconnect vacuum source from MAP sensor.

Does MAP sensor reading return to original reading?

--

Fault not present. Refer to Diagnostic Aids

Go to Step 7

7

Replace the MAP sensor. Refer to Manifold Absolute Pressure Sensor Replacement .

Is the replacement complete?

--

Go to Powertrain Control Module Diagnosis for Verify Repair

--