GM Service Manual Online
For 1990-2009 cars only

DTC B1982 Source/Battery Voltage High A45 with AL2


Object Number: 141869  Size: MF
Power Seat Systems Components
Cell 141: PWR, GND, LH Seat Switch, and MSM
Handling ESD Sensitive Parts Notice
Cell 10: MEM T/T, PWWR T/T, and TSIG/HAZ Fuses
Cell 10: MEM T/T, PWWR T/T, and TSIG/HAZ Fuses

Circuit Description

Battery positive voltage (B+) is supplied to the memory seat module (MSM) via CKT 2840 (ORN). The MSM monitors this voltage to determine if it is within a valid operating range.

Conditions for Setting the DTC

The battery positive voltage (B+) level rises above 15.5 volts for more than approximately 1.2 seconds.

Action Taken When the DTC Set

    • Stores a DTC B1982 in the MSM memory.
    • The MSM will not respond to any manual or memory inputs when the voltage is greater than 16 volts.
    • No driver warning message will be displayed for this DTC.
    • The MSM switch failure and position sensor failure DTCs will not set while DTC B1982 is current.

Conditions for Clearing the DTC

    • The battery positive voltage (B+) level falls below 15 volts for approximately 1.2 seconds.
    • Use the On-Boards clearing DTCs feature.
    • Use a scan tool.

Diagnostic Aids

This DTC may set when the vehicle is placed on a battery charger, on fast charge, for a long period of time.

Test Description

The numbers below refer to the step numbers on the diagnostic table:

  1. Perform the entire Power Seat Systems Diagnostic System Check before continuing with the diagnosis of this DTC.

  2. Checks that DTC was not set erroneously.

  3. Determines whether the malfunction is in the charging system or the memory seat module (MSM).

  4. Clear all DTCs after the repair procedure is complete.

Step

Action

Value(s)

Yes

No

1

Was the entire Power Seat Systems Diagnostic System Check performed?

--

Go to Step 2

Go to Diagnostic System Check - Power Seat Systems

2

  1. Turn the ignition switch to the ON position.
  2. Connect a scan tool to the Data Link Connector (DLC).
  3. Select DATA from the memory seat module (MSM) DATA LIST.

Is the battery positive voltage (B+) level less than the specified value?

15.5 V

Go to Step 4

Go to Step 3

3

  1. Turn the ignition switch to the ON position.
  2. Disconnect the memory seat module (MSM) connector C2.
  3. Connect a DMM from the MSM connector C2 cavity D11 (ORN) to ground.

Is the voltage greater than the specified value?

15.5 V

Go to Charging System Check in Engine Electrical

Go to Step 4

4

Replace the Memory Seat Module (MSM). Refer to Memory Seat Control Module Replacement .

Is the MSM replacement complete?

--

Go to Step 5

--

5

  1. Turn the ignition switch to the OFF position.
  2. Reconnect or install any connectors or components that were disconnected or removed.
  3. Turn the ignition switch to the ON position.
  4. Clear any DTCs. Refer to Diagnostic Trouble Code (DTC) Clearing .

Are all DTCs cleared?

--

Go to Diagnostic System Check - Power Seat Systems

--

DTC B1982 Source/Battery Voltage High A45 with AC9


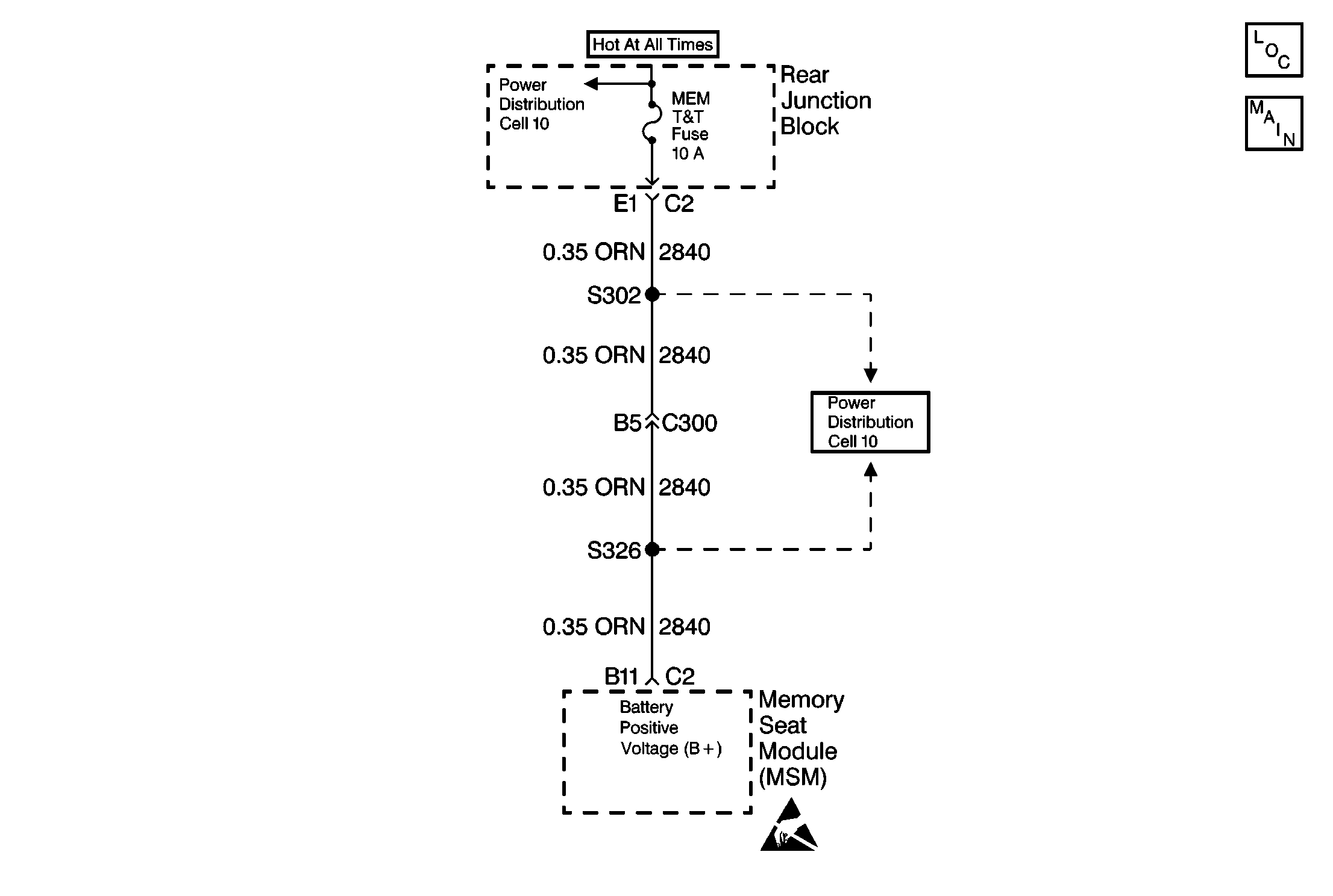
Object Number: 259199  Size: MF
Power Seat Systems Components
Cell 141: PWR, GND, LH Seat Switch, and MSM
Handling ESD Sensitive Parts Notice
Cell 10: MEM T/T, PWWR T/T, and TSIG/HAZ Fuses
Cell 10: MEM T/T, PWWR T/T, and TSIG/HAZ Fuses

Circuit Description

Battery positive voltage (B+) is supplied to the memory seat module (MSM) via CKT 2840 (ORN). The MSM monitors this voltage to determine if it is within a valid operating range.

Conditions for Setting the DTC

The battery positive voltage (B+) level rises above 15.5 volts for more than approximately 1.2 seconds.

Action Taken When the DTC Sets

    • Stores a DTC B1982 in the MSM memory.
    • The MSM will not respond to any manual or memory inputs when the voltage is greater than 16 volts.
    • No driver warning message will be displayed for this DTC.
    • The MSM switch failure and position sensor failure DTCs will not set while DTC B1982 is current.

Conditions for Clearing the DTC

    • The battery positive voltage (B+) level falls below 15 volts for approximately 1.2 seconds.
    • Use the On-Boards clearing DTCs feature.
    • Use a scan tool.

Diagnostic Aids

This DTC may set when the vehicle is placed on a battery charger, on fast charge, for a long period of time.

Test Description

The numbers below refer to the step numbers on the diagnostic table:

  1. Perform the entire Power Seat Systems Diagnostic System Check before continuing with the diagnosis of this DTC.

  2. Checks that DTC was not set erroneously.

  3. Determines whether the malfunction is in the charging system or the memory seat module (MSM).

  4. Clear all DTCs after the repair procedure is complete.

Step

Action

Value(s)

Yes

No

1

Was the entire Power Seat Systems Diagnostic System Check performed?

--

Go to Step 2

Go to Diagnostic System Check - Power Seat Systems

2

  1. Turn the ignition switch to the ON position.
  2. Connect a scan tool to the Data Link Connector (DLC).
  3. Select DATA from the memory seat module (MSM) DATA LIST.

Is the battery positive voltage (B+) level less than the specified value?

15.5 V

Go to Step 4

Go to Step 3

3

  1. Turn the ignition switch to the ON position.
  2. Disconnect the memory seat module (MSM) connector C2.
  3. Connect a DMM from the MSM connector C2 cavity B11 (ORN) to ground.

Is the voltage greater than the specified value?

15.5 V

Go to Charging System Check in Engine Electrical

Go to Step 4

4

Replace the Memory Seat Module (MSM). Refer to Memory Seat Control Module Replacement .

Is the MSM replacement complete?

--

Go to Step 5

--

5

  1. Turn the ignition switch to the OFF position.
  2. Reconnect or install any connectors or components that were disconnected or removed.
  3. Turn the ignition switch to the ON position.
  4. Clear any DTCs. Refer to Diagnostic Trouble Code (DTC) Clearing .

Are all DTCs cleared?

--

Go to Diagnostic System Check - Power Seat Systems

--