GM Service Manual Online
For 1990-2009 cars only
Makes
🢒
Cadillac
🢒
1999
🢒
Seville
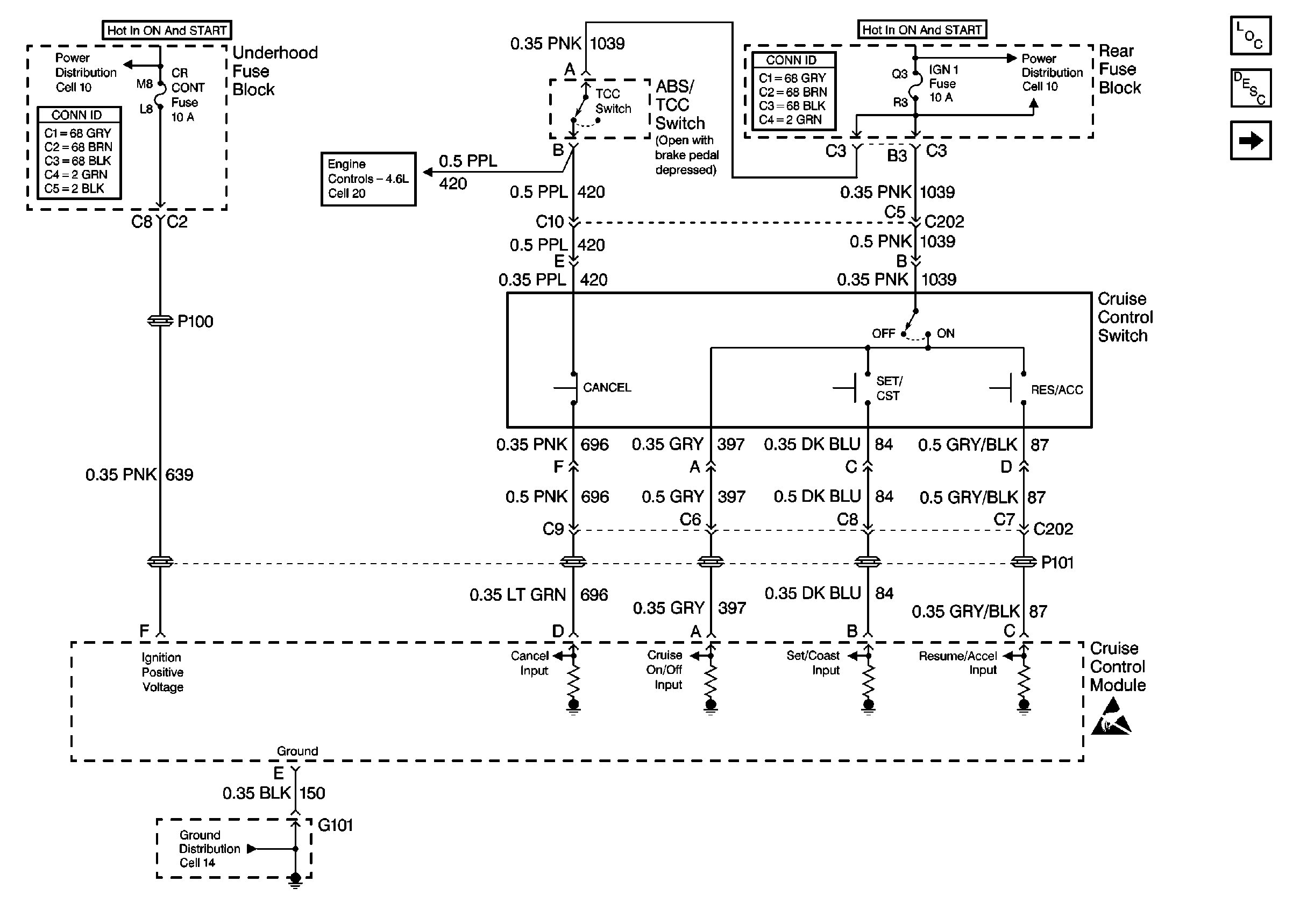
🢒 Cell 34: Cruise Control Module Power and Ground
Cell 34: Cruise Control Module Power and Ground
Cell 34: Cruise Control Module Power and Ground
Cruise Control Components
Cruise Control System Circuit Description
Cell 34: Cruise Control Module Inputs and Outputs
Handling ESD Sensitive Parts Notice
Power Distribution Schematics
Power Distribution Schematics
Ground Distribution Schematics
Engine Controls Schematics