GM Service Manual Online
For 1990-2009 cars only
Makes
🢒
Cadillac
🢒
1999
🢒
Seville
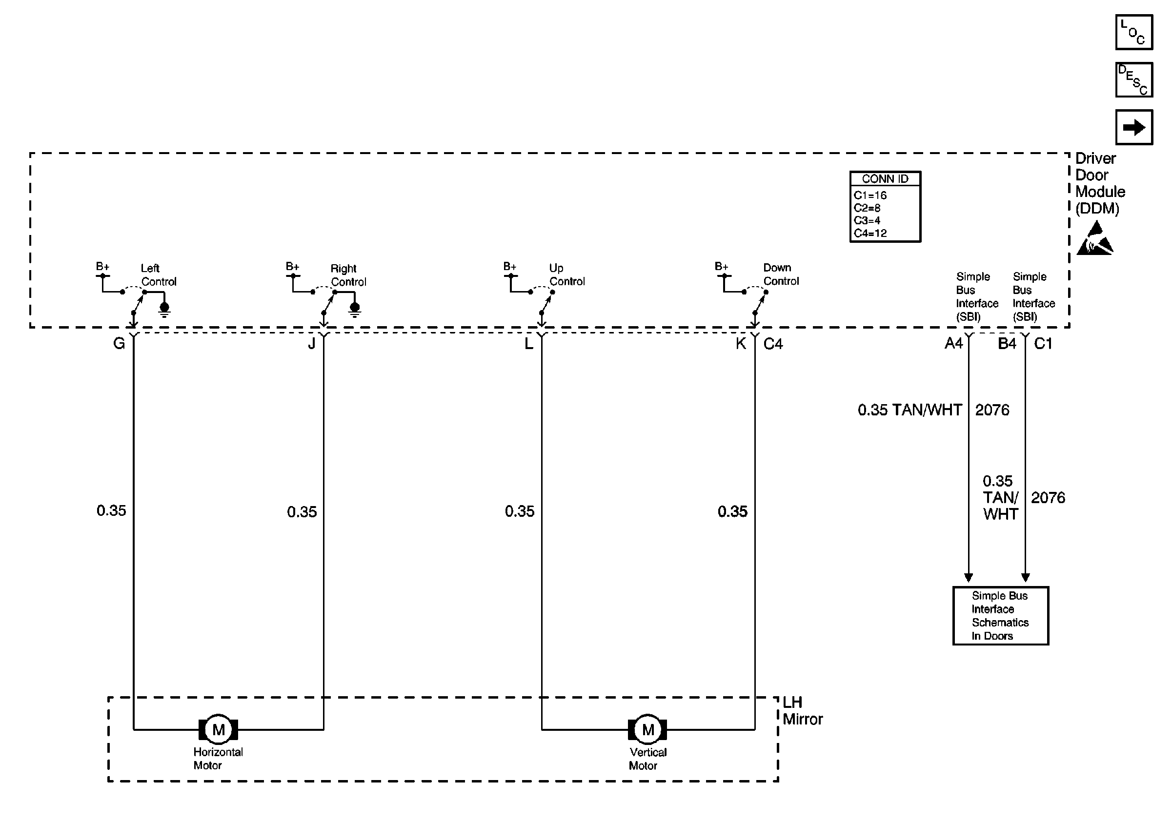
🢒 LH Mirrors
LH Mirrors
LH Mirrors
Power Door Systems Components
RH Mirrors
Simple Bus Interface