GM Service Manual Online
For 1990-2009 cars only
Makes
🢒
Cadillac
🢒
1999
🢒
Seville
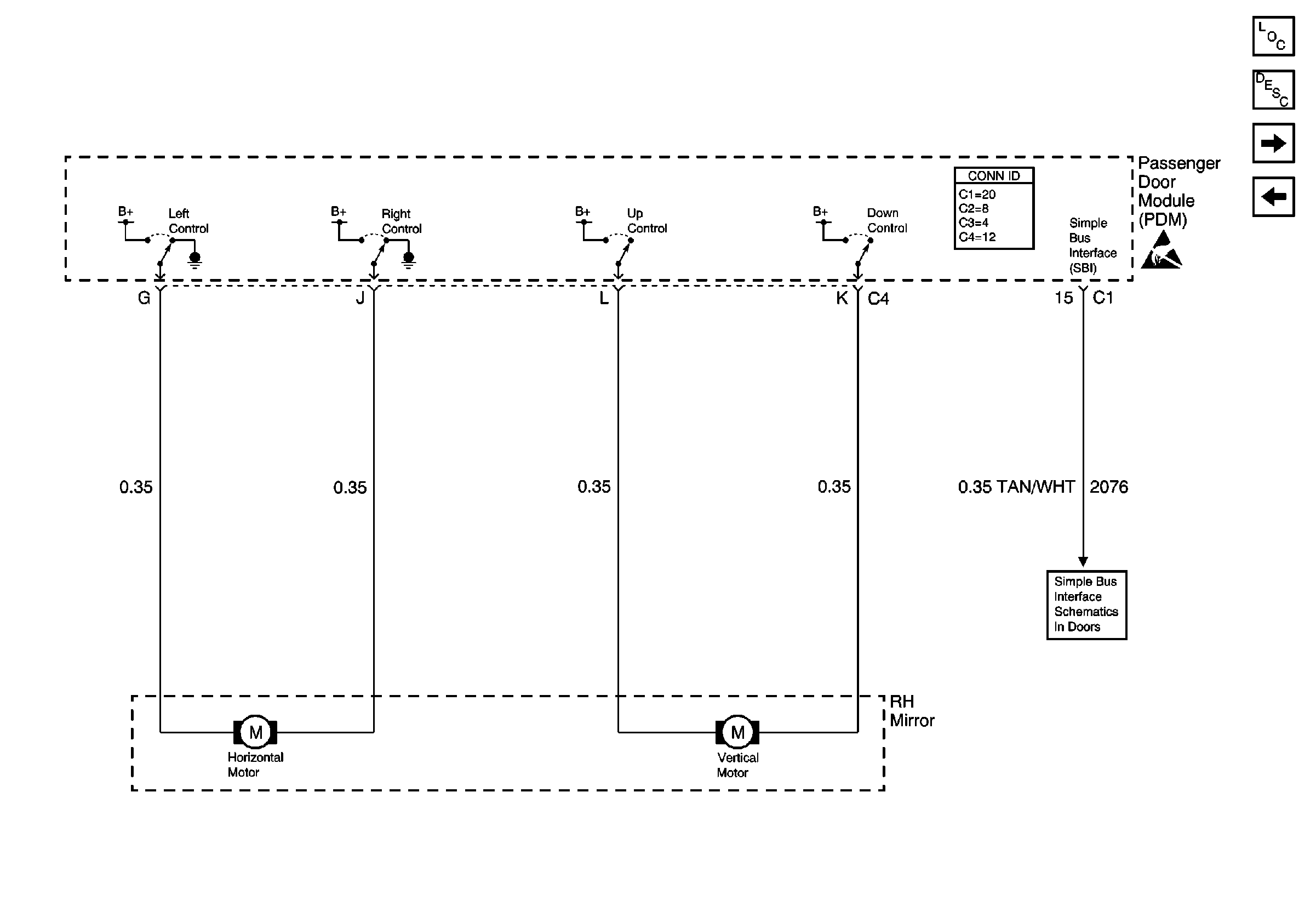
🢒 RH Mirrors
RH Mirrors
RH Mirrors
Power Door Systems Components
LH Mirrors W/A45
LH Mirrors
Simple Bus Interface