GM Service Manual Online
For 1990-2009 cars only

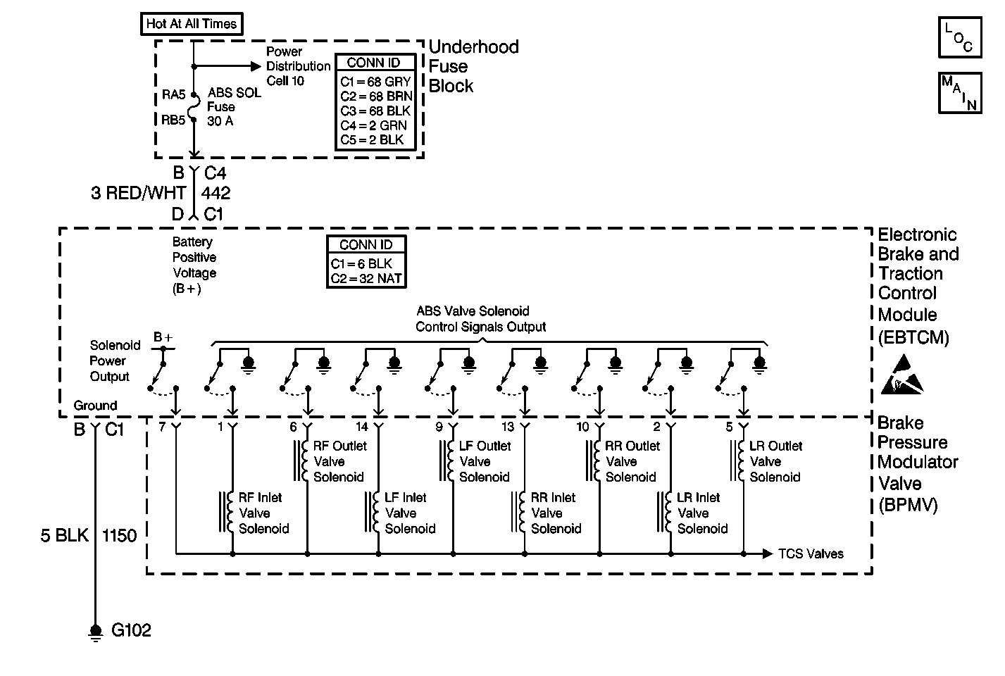
Object Number: 388761  Size: MF
ABS Components
Cell 44: PWR, GND, BPMV Pump Motor and Solenoids
Handling ESD Sensitive Parts Notice
Cell 10: Power to Underhood Fuse Block
Cell 44: PWR, GND, BPMV Pump Motor and Solenoids

Circuit Description

The valve solenoid circuits are supplied with battery power when the ignition is ON. The EBTCM controls the valve functions by grounding the circuit when necessary.

Conditions for Setting the DTC

The EBTCM senses a discrepancy such as an open, short to ground, or short to voltage in the circuit.

Action Taken When the DTC Sets

    • A malfunction DTC is stored.
    • The ABS/TCS/Stabilitrak® is disabled.
    • The ABS indicator is turned ON.
    • The TRACTION CONTROL indicator is turned ON.
    • The DIC displays the SERVICE STABILITY SYS message.

Conditions for Clearing the DTC

    • The condition for DTC is no longer present and you used scan tool Clear DTCs function.
    • The condition for DTC is no longer present and you used the On-Board Clear DTCs function.
    • The EBTCM does not detect the DTC in 50 drive cycles.

Diagnostic Aids

Make sure the integrity of the connection between the EBTCM and the BPMV is secure, tight, and free from corrosion.

Test Description

The numbers below refer to step numbers on the diagnostic table.

  1. This step checks the resistance value of the solenoid.

  2. This step checks for a short to ground in the BPMV.

  3. This step checks for an internal short to voltage.

Step

Action

Value(s)

Yes

No

1

Did you perform the ABS Diagnostic System Check?

--

Go to Step 2

Go to Diagnostic System Check - ABS

2

  1. Turn OFF the ignition.
  2. Disconnect the EBTCM connector.
  3. Remove the EBTCM from the BPMV.
  4. Inspect the EBTCM to BPMV connector for conditions which could cause an intermittent such as damage, corrosion, or poor terminal contact.

Are the internal connectors good and cavities free of brake fluid?

--

Go to Step 3

Go to Step 6

3

  1. Install the J 41247 BPMV pinout box to the BPMV connector.
  2. Use a J 39200 DMM in order to measure the resistance between the J 41247 terminal 10 and terminal 7.

Is the resistance within the specified range?

4-7 ohms

Go to Step 4

Go to Step 8

4

Use a J 39200 DMM in order to measure the resistance between the J 41247 terminal 10 and the BPMV case.

Is the resistance within the specified range?

OL (infinite)

Go to Step 5

Go to Step 8

5

  1. Remove the J 41247 BPMV pinout box.
  2. Reinstall the EBTCM to BPMV.
  3. Reconnect the EBTCM connector.
  4. Connect a scan tool to the data link connector (DLC).
  5. Turn ON the ignition, with the engine OFF.
  6. Use the scan tool in order to select ABS/TCS/ICCS Diagnostic Trouble Codes, DTC Information.

Does DTC C1268 reset as a current DTC?

--

Go to Step 9

Go to Step 7

6

    • If connector corrosion or damage are present, replace the BPMV and/or the EBTCM as necessary.
    • If brake fluid is present, replace both the BPMV and the EBTCM.

Refer to Electronic Brake Control Module Replacement and/or Brake Pressure Modulator Valve Replacement .

Did you complete the repair?

--

Go to Diagnostic System Check - ABS

--

7

Use a scan tool in ABS/TCS/ICCS Special Functions in order to run the Automated Test.

Does DTC C1268 reset as a current DTC?

--

Go to Step 8

Go to Diagnostic System Check - ABS

8

Replace the BPMV. Refer to Brake Pressure Modulator Valve Replacement .

Did you complete the repair?

--

Go to Diagnostic System Check - ABS

--

9

Replace the EBTCM. Refer to Electronic Brake Control Module Replacement .

Did you complete the repair?

--

Go to Diagnostic System Check - ABS

--