GM Service Manual Online
For 1990-2009 cars only
Makes
🢒
Cadillac
🢒
2000
🢒
Seville
🢒
Body and Accessories
🢒
Seats
🢒 Power Seats Schematics
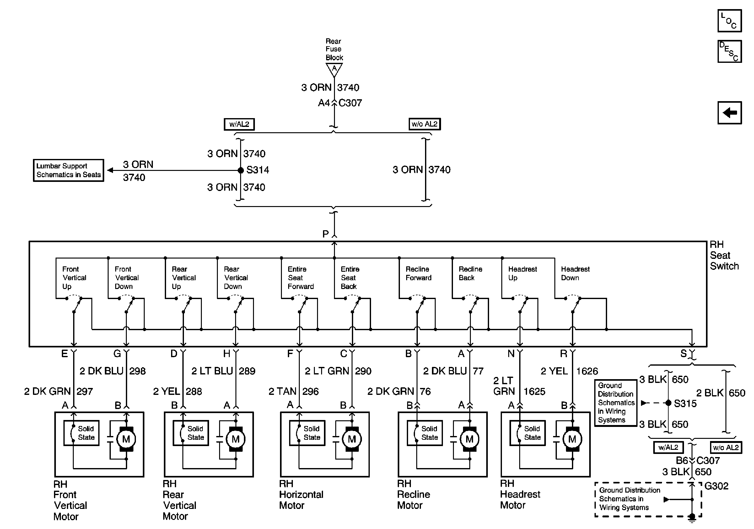
Figure
1:
LH Seat Switch and Motors
Power Seat Systems Components
Power Seats Circuit Description
RH Seat Switch and Motors
PWR Seat Fuse
Without Memory (A45)
RH Seat Switch and Motors
G302 1 of 2
G302 1 of 2
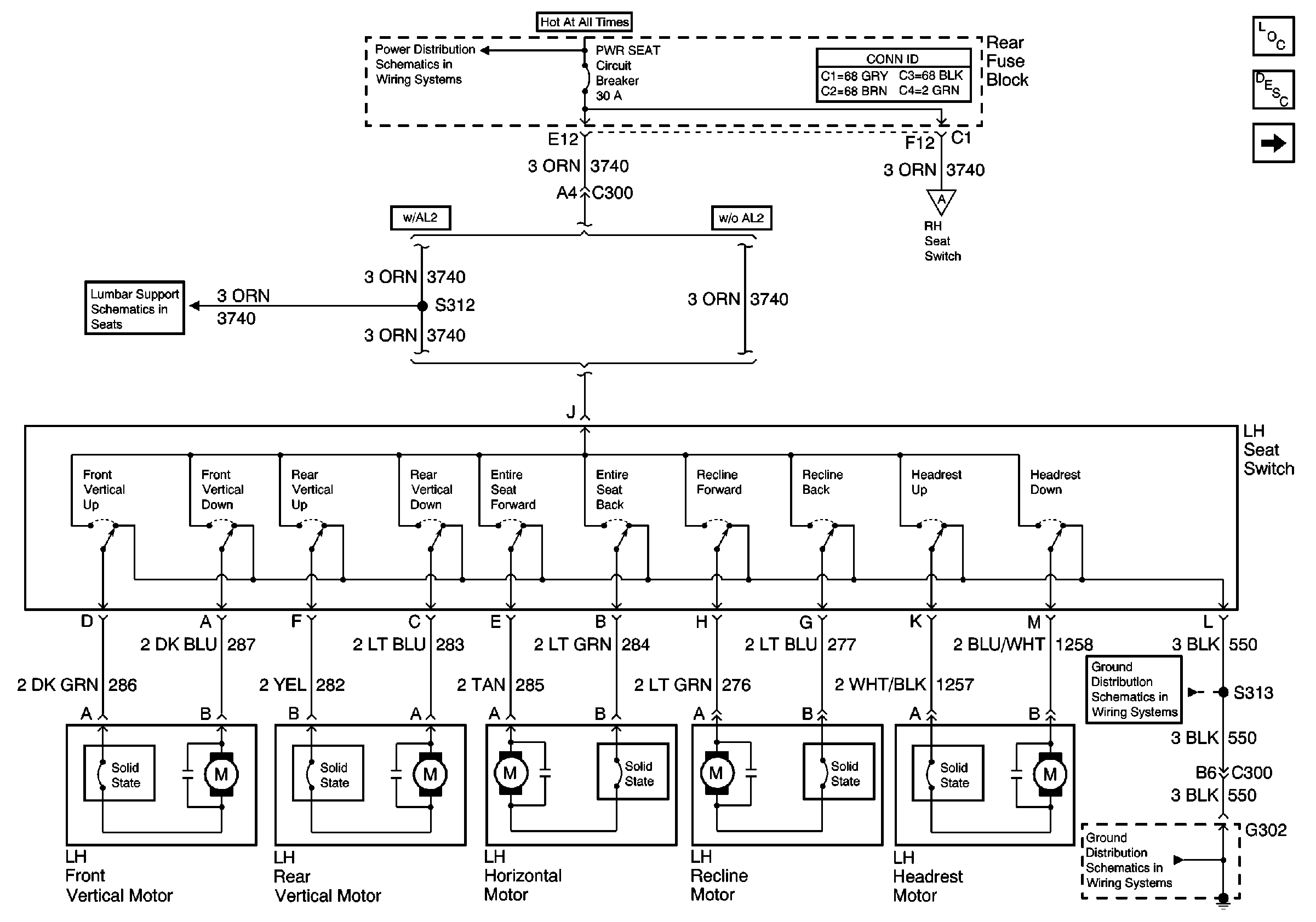
Figure
2:
RH Seat Switch and Motors
Power Seat Systems Components
Power Seats Circuit Description
LH Seat Switch and Motors
Without Memory (A45)
LH Seat Switch and Motors
G302 1 of 2
G302 1 of 2