GM Service Manual Online
For 1990-2009 cars only
Makes
🢒
Cadillac
🢒
2000
🢒
Seville
🢒 Simple Bus Interface (SBI)
Simple Bus Interface (SBI)
Simple Bus Interface (SBI)
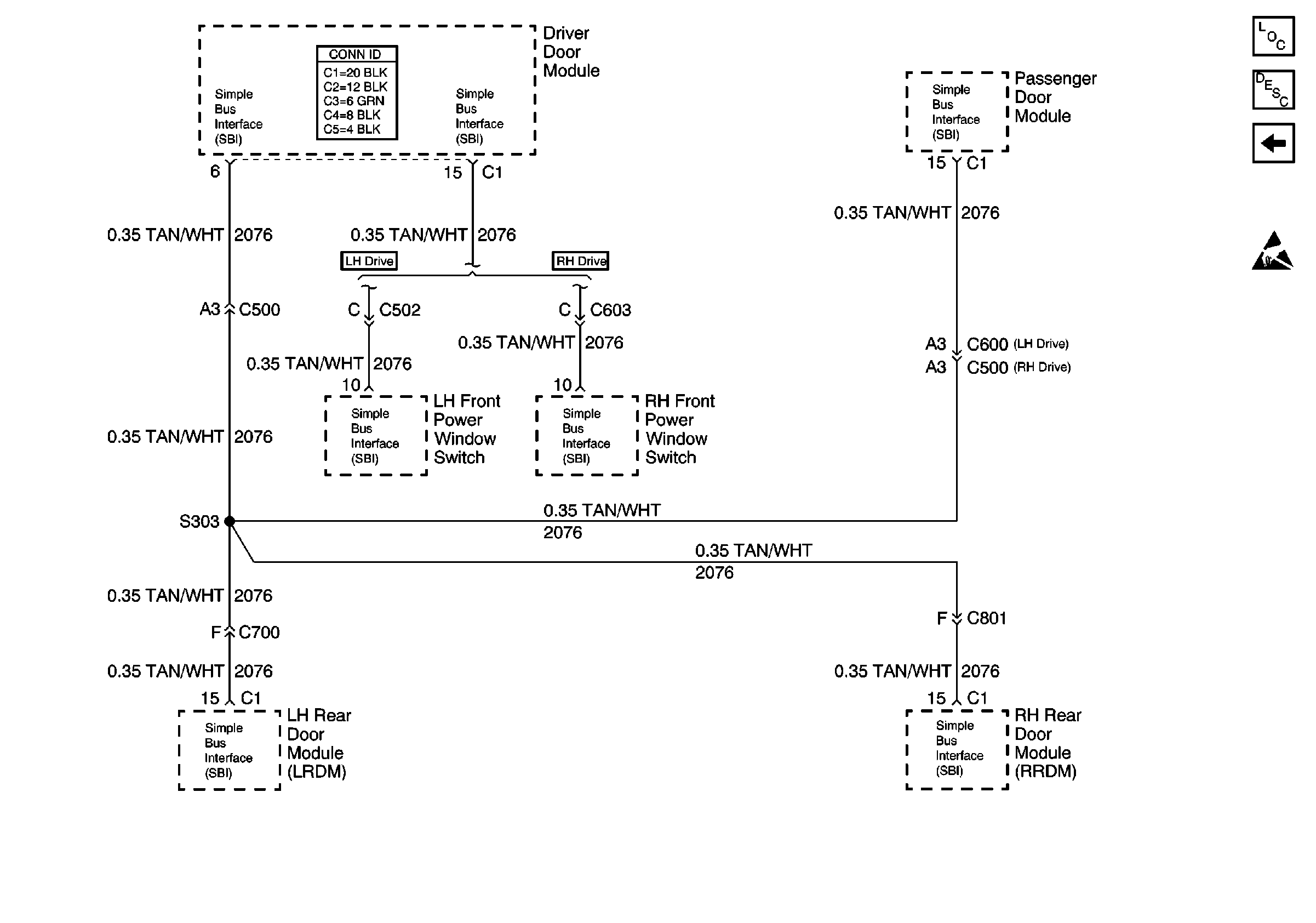
Data Link Communications Components
Data Link Communications Circuit Description
Class 2 Serial Data Line (RH Drive)
Handling ESD Sensitive Parts Notice