GM Service Manual Online
For 1990-2009 cars only
Makes
🢒
Cadillac
🢒
2000
🢒
Seville
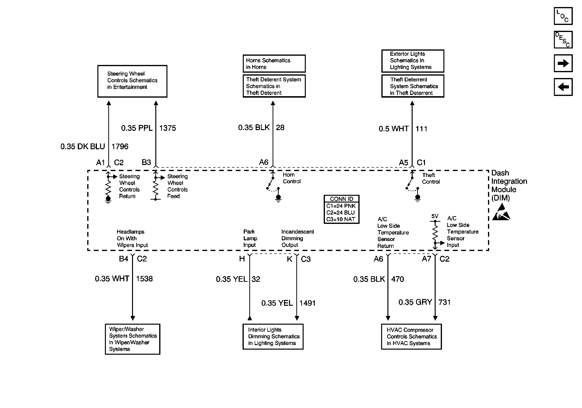
🢒 DIM Inputs and Outputs 2 of 2
DIM Inputs and Outputs 2 of 2
DIM Inputs and Outputs 2 of 2
Body Control Module Components
Body Control System Circuit Description
IPM Power and Ground
DIM Inputs and Outputs 1 of 2
Handling ESD Sensitive Parts Notice
Steering Wheel Controls Schematics
Power, Ground, and Components
Dimming Control, IP Dimmer Switch
Compressor Controls
CTD Outputs, Tamper Switches, and Class 2
Hazard Switch Assembly
Horns Schematic
CTD Outputs, Tamper Switches, and Class 2