GM Service Manual Online
For 1990-2009 cars only
Makes
🢒
Cadillac
🢒
2000
🢒
Seville
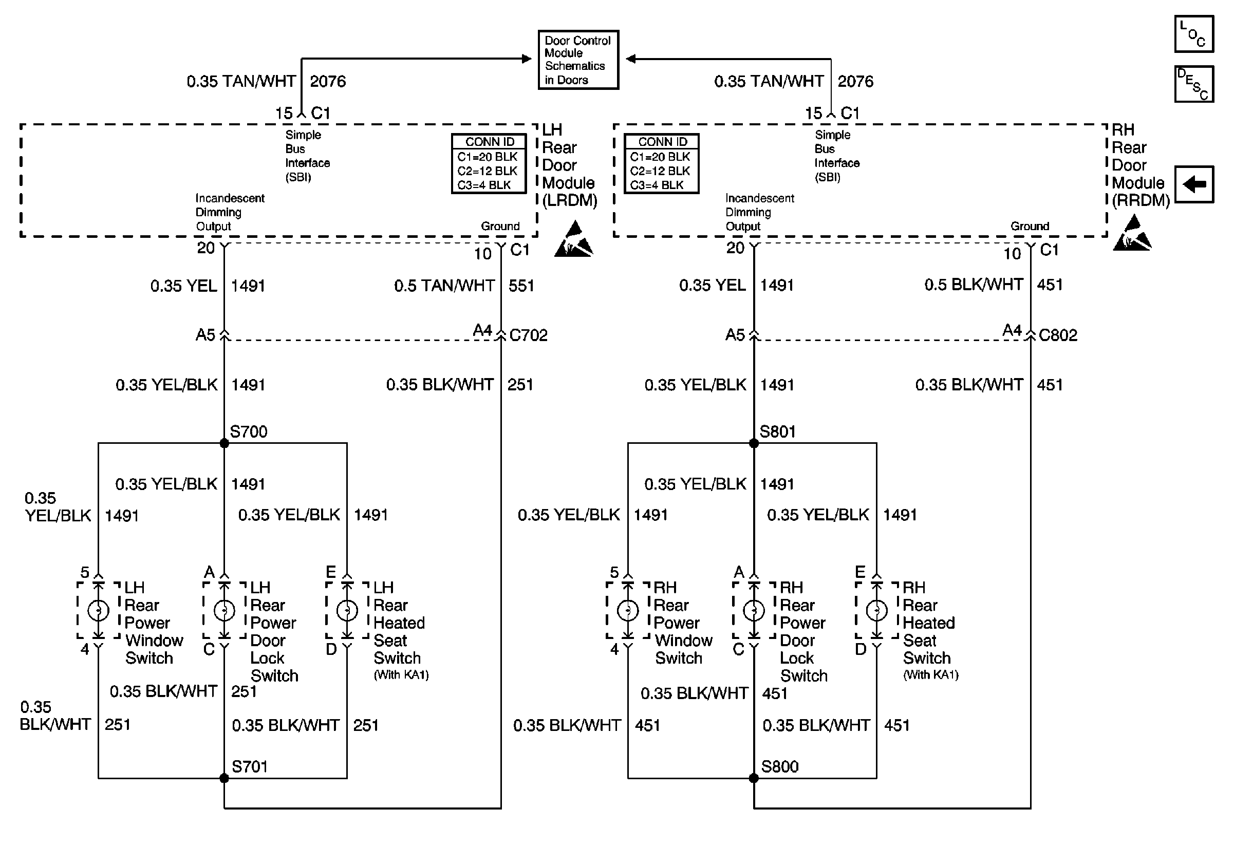
🢒 Rear Door Dimming
Rear Door Dimming
Rear Door Dimming
Lighting Systems Components
Interior Lights Dimming Circuit Description
Front Door Dimming
SBI
Handling ESD Sensitive Parts Notice
Handling ESD Sensitive Parts Notice