GM Service Manual Online
For 1990-2009 cars only
Makes
🢒
Cadillac
🢒
2000
🢒
Seville
🢒 Backup Lights Schematics
Backup Lights Schematics
Lighting Systems Components
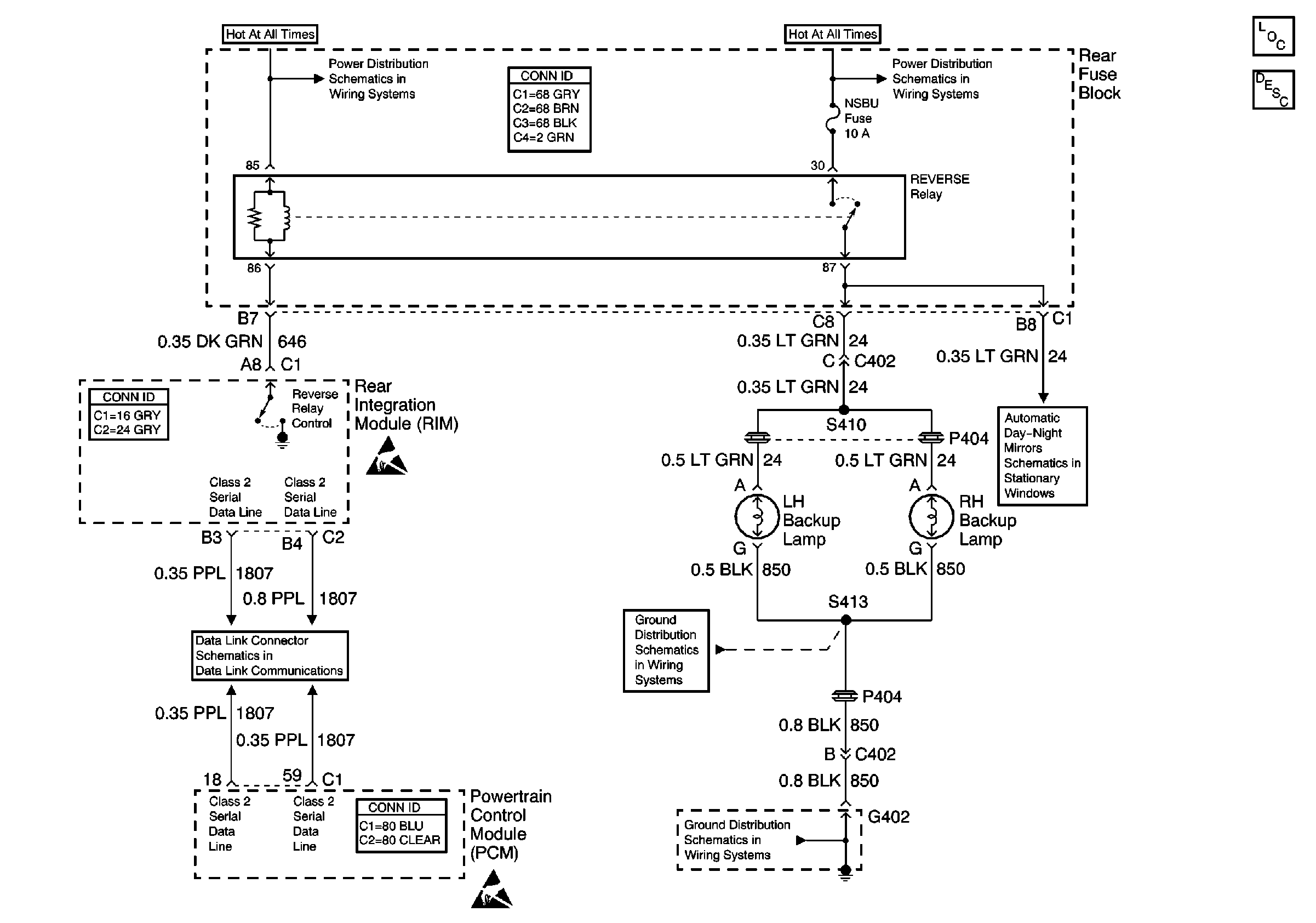
Backup Lamp Circuit Description
NSBU, F/PMP, CVRTD and BODY Fuses
Class 2 Serial Data Line (RH Drive)
NSBU, F/PMP, CVRTD and BODY Fuses
NSBU, F/PMP, CVRTD and BODY Fuses
G402 2 of 2
G402 2 of 2
Handling ESD Sensitive Parts Notice
Handling ESD Sensitive Parts Notice